EasyManua.ls Logo

Eckold KF 170 PD - Pressure Lever and Repair Kit

Eckold KF 170 PD
81 pages
Print Icon
To Next Page IconTo Next Page
To Next Page IconTo Next Page
To Previous Page IconTo Previous Page
To Previous Page IconTo Previous Page
Loading...
Kraftformer KF 170 PD
2018-05-09 | ECKOLD AG MEL-16
Machine Spare Parts List (MEL)
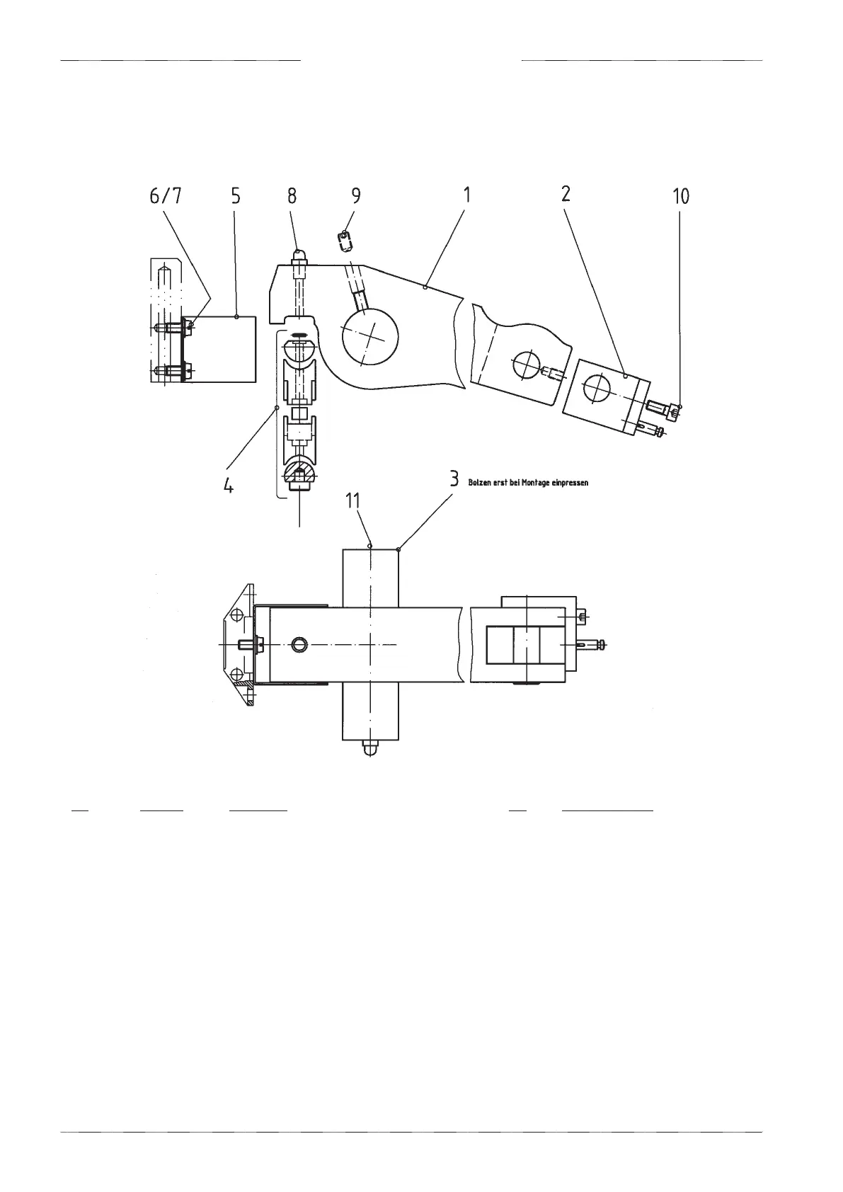
11.7 Pressure lever 023.125.0019
Pos Item No. Designation Qty Type / Dimensions
023.125.0019 Pressure lever
1 023.910.0297 Pressure lever 1
2 023.125.0028 Bolt 1
3 023.910.0185 Bolt 1
4 023.125.0031 Pressure link 1
5 023.910.0303 Guiding device 1
6 251.001.0502 Cap screw with slot 2 DIN 84 A M 5 x 8
7 258.021.0000 Washer with basil 2 DIN 125 B M 5
8 257.600.0020 Lubricating nipple 2 D 6 K 1A
9 256.021.1103 Setscrew 1 DIN 913 M 8 x 12
10 252.000.0203 Cap screw 1 DIN 912 M 5 x 12
11 256.021.1202 Setscrew 1 DIN 913 M10 x 12

Table of Contents