EasyManua.ls Logo

Eckold KF 170 PD - Pneumatic Cylinder Parts

Eckold KF 170 PD
81 pages
Print Icon
To Next Page IconTo Next Page
To Next Page IconTo Next Page
To Previous Page IconTo Previous Page
To Previous Page IconTo Previous Page
Loading...
Kraftformer KF 170 PD
2018-05-09 | ECKOLD AG MEL-12
Machine Spare Parts List (MEL)
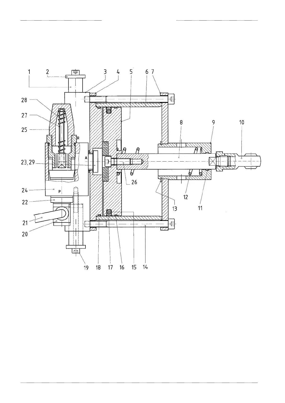
11.5 Pneumatic cylinder 023.125.0001

Table of Contents