EasyManua.ls Logo

Emerson CW026 - Figure 4-6 Cabinet and Floor-Planning Dimensions, Downflow, CW146 and CW181 with EC Fans

Emerson CW026
132 pages
Print Icon
To Next Page IconTo Next Page
To Next Page IconTo Next Page
To Previous Page IconTo Previous Page
To Previous Page IconTo Previous Page
Loading...
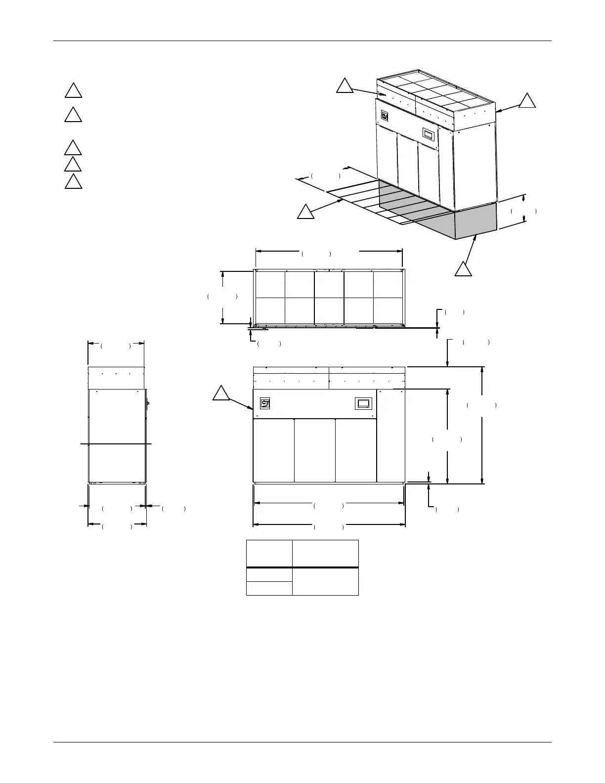
Cabinet and Floor-planning Dimensions—Downflow Models with EC Fans
29 Liebert
®
CW
System Design Manual
Figure 4-6 Cabinet and floor-planning dimensions, downflow, CW146 and CW181 with EC fans
Model
Weight
lb (kg)
CW146
2520 (1143)
CW181
76"
1930mm
BASE UNIT
45"
1143mm
PLENUM
18"
457mm
FILTER PLENUM
42"
1067mm
Opening
94"
2388mm
TOTAL HEIGHT
1 1/2"
38mm
120"
3044mm
45"
1143mm
47"
1194mm
1"
25mm
TYP
122"
3099mm
1 3/4"
44mm
Handle
5/16"
8mm
Bezel
48"
1219mm
24"
610mm
117 11/16"
2989mm
Opening
Notes:
1. Striated area indicates the recommended minimum
clearance to be provided for component access.
2. Shaded area indicates the required minimum clearance
below the unit to lower the fans into the floor. Fans may
also remain in their shipped position if desired.
3. Filter Plenum shipped separately
4. CW146 or CW181 base unit
5. Filters are removed through the
front of the plenum.
6. Reference DPN001693 for the electrical
and plumbing requirements.
1
2
3
4
5
DPN003208
Rev. 1

Table of Contents

Related product manuals