EasyManua.ls Logo

Emerson CW026 - Figure 5-3 Piping General Arrangement, Upflow, CW026 - CW114

Emerson CW026
132 pages
Print Icon
To Next Page IconTo Next Page
To Next Page IconTo Next Page
To Previous Page IconTo Previous Page
To Previous Page IconTo Previous Page
Loading...
Piping General Arrangement
55 Liebert
®
CW
System Design Manual
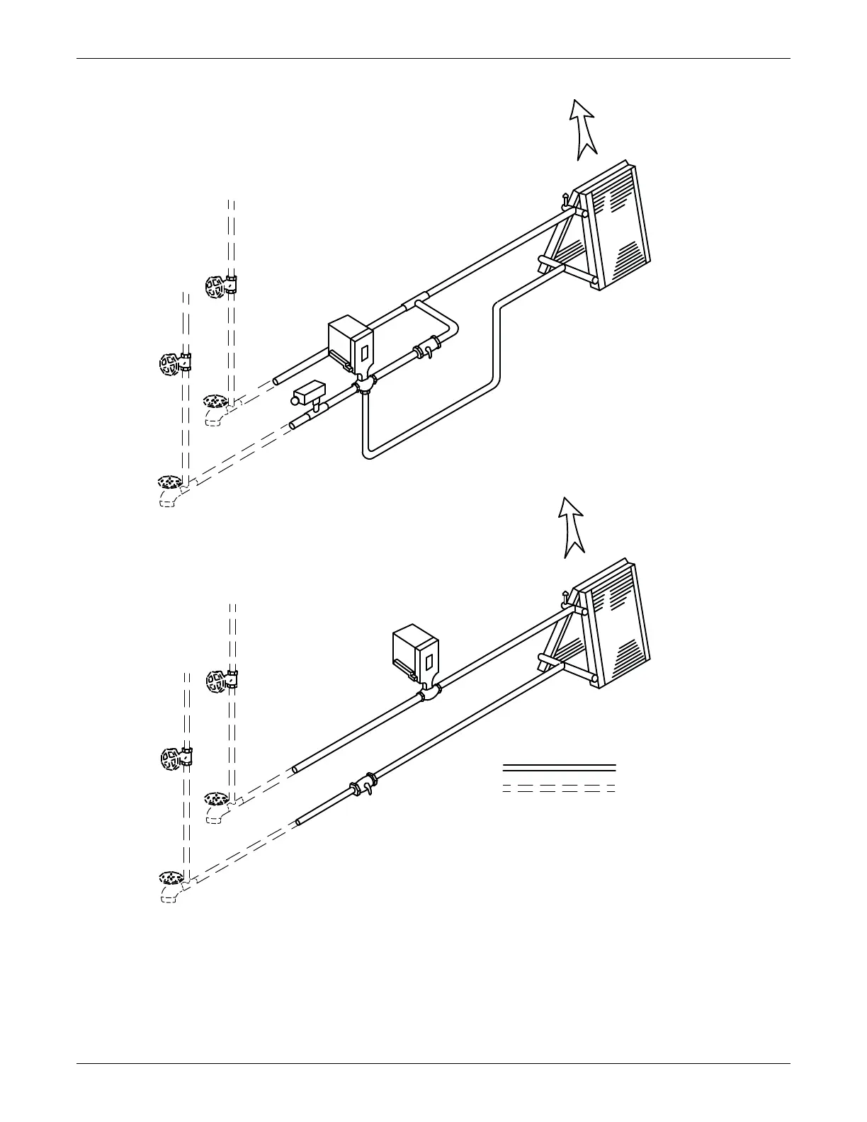
Figure 5-3 Piping general arrangement, upflow, CW026 – CW114
Chilled
Water
Return
Chilled
Water
Supply
Shut*
Off
Valves
Hose*
Bibs
Valve
Actuator
A
B
Bleed
Valve
3-Way
Chilled
Water
Valve
Air Flow
Chilled
Water
Coil
3-WAY VALVE
Chilled
Water
Supply
Chilled
Water
Return
Shut*
Off
Valves
Hose*
Bibs
Valve
Actuator
2-Way
Chilled
Water
Valve
Bleed
Valve
Air Flow
Chilled
Water
Coil
FACTORY PIPING
FIELD PIPING
2-WAY VALVE
Flow
Switch
(Optional)
Ball
Valve
(Optional)
*Components are not supplied by Liebert
but are required for proper
circuit operation and maintenance.
AB
Ball Valve
(Optional)
DPN001658
Rev. 1

Table of Contents

Related product manuals