EasyManua.ls Logo

evertz 5601MSC - Figure 2-2: IRIG-B127 Format and Alignment to IRIG1 Datum Pulse; Figure 2-3: 29.97 Hz LTC Format and Alignment to NTSC Video

evertz 5601MSC
196 pages
Print Icon
To Next Page IconTo Next Page
To Next Page IconTo Next Page
To Previous Page IconTo Previous Page
To Previous Page IconTo Previous Page
Loading...
Model 5601MSC
Model 5601MSC Master SPG/Master Clock System
OPERATION Revision 2.2 Page - 17
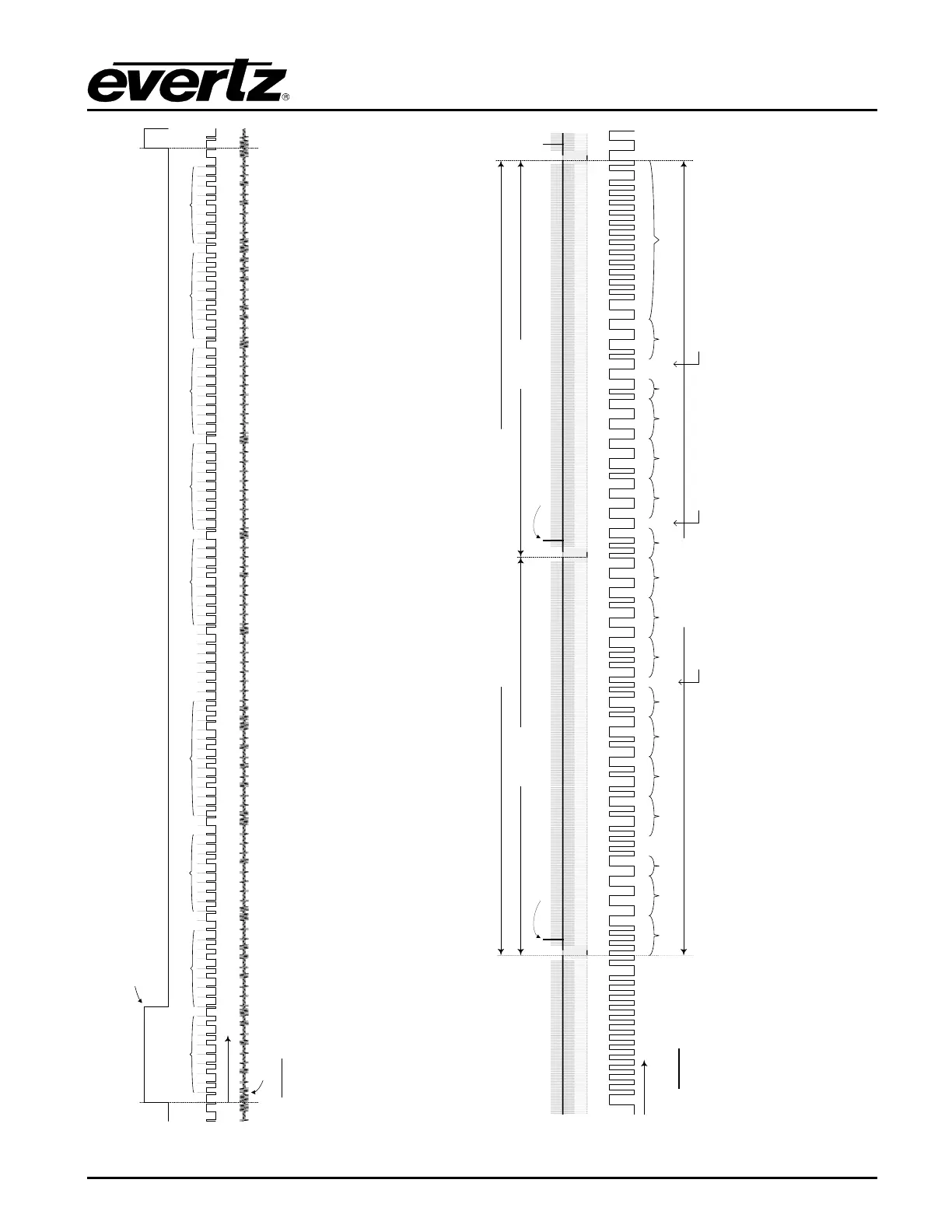
Figure 2-2: IRIG-B127 Format and Alignment to IRIG1 Datum Pulse
Figure 2-3: 29.97Hz LTC Format and Alignment to NTSC Video
P
r
P
0
1 0 M P
1
1
0 1 0 1
Seconds
1 1 10 0 0
0M M P
2
1 100 0 0
M M P
3
1
1 10 0 0M P
4
M M P
5
10 0 0 0M P
6
0 0 0 0
P
7
0 0 0
P
8
Minutes
Hours
0
Days
1 0 1 1
Year
M M M MM 0 0
0 0 0 0 0 0 00 0 0 0 0
Control Bits 1
-9 Control Bits 10-18
0 0 P
9
0 0
Straight Binary
Seconds Bits
0-8
1 1 1 1 1 0 0
Straight Binary
Seconds Bits 9-17
11 10
0 0 M
IRIG1 Datum Pulse
IRIG Output – Amplitude Modulated 1kHz Sinewave
P
0
IRIG-B127 – 100 bits/
second
LEGEND
Pr
= Reference Bit
P
0
P
9
= Position Identifier Bits
M
= Index Marker Bit (always 0
)
29.97Hz LTC
VITC field 1 line 14
Field 1
NTSC Black Burst - One Frame (33.367ms)
Field 2
VITC field 2 line 14
Sync Word
1
Frames
1 1 0 0
BG1
0 0 0 0 0
10Fr
1 1 1 0 1 0 1 0 1 0
BG2
Seconds BG3
0 1 0 0 1 0 1
10sec
1
BG4
0 1 1 0
Minutes
0 0 0 1
BG5
0 0 0 0 1 1 0
10min
0
BGF0
BG6
0 0 0 0
Hours
1 0 0 0
BG7
0 0 0 0 1 0
10Hr
0 0
BG7
1 0 0 0 0 0 1 1 1 1 1 1 1 1 1 1 1 1 0 1
BGF1
BGF2
Pol. Cor.
Drop Fr.
Color Fr.
29.97Hz LTC = 2397.6 bits/second
LEGEND
BG# = Binary Group (User Bits)
Drop Fr. = Dropframe Counting Flag
BGF# = Binary Group Flags
Color Fr. = Color Frame Alignment Flag
Pol. Cor. = Bit used for Polarity Correction
BGF0 in 25Hz BGF2 in 25Hz
Polarity Correction in 25Hz

Table of Contents

Related product manuals