EasyManua.ls Logo

GreenWorks CU800 - Page 215

GreenWorks CU800
231 pages
Print Icon
To Next Page IconTo Next Page
To Next Page IconTo Next Page
To Previous Page IconTo Previous Page
To Previous Page IconTo Previous Page
Loading...
ELECTRICAL SYSTEM MALFUNCTION INSPECTION CU800 Service Manual
208
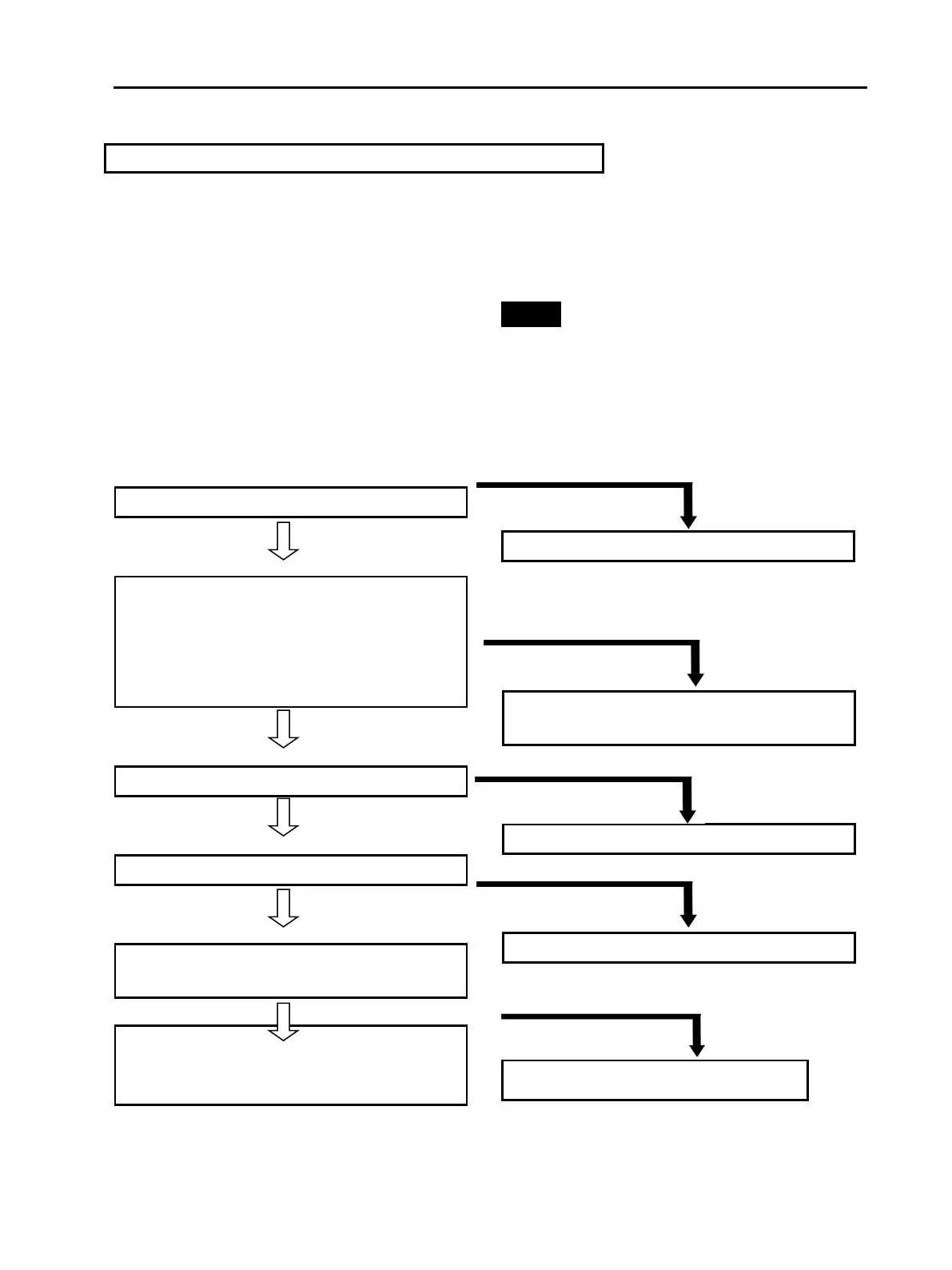
7.3.1 Trouble Shooting
IF THE HEADLIGHT AND/OR TAILLIGHT FAIL TO COME ON:
Procedure
Check
1. Fuses (main, lighting system)
2. Battery
3. Main switch
1. Fuses (main, lighting system)
Refer to “CHECKING THE SWITCH”.
CONTINUITY
2. Battery
• Check the battery condition. Refer to
“CHECKING AND CHARGING THE
BATTERY” in chapter 3.
Open-circuit voltage
12.8 V or more at 20 °C (68 °F)
CORRECT
3. Main switch
Refer to “CHECKING THE SWITCH”.
CORRECT
4.Light switch
Refer to “CHECKING THE SWITCH”.
CORRECT
5. Wiring connection
• Check the connections of the entire lighting
system. Refer to “CIRCUIT DIAGRAM”.
CORRECT
Check the condition of each of the lighting
system’s circuits. Refer to “CHECKING THE
LIGHTING SYSTEM”.
4. Light switch
5. Wiring connections (the entire lighting
system)
NOTE:
Remove the following part(s) before
troubleshooting:
1. Console
2. Front luggage carrier
3. Front covering parts
• Use special tool(s) for troubleshooting.
NO CONTINUITY
INCORRECT
• Clean the battery terminals.
Recharge or contact after-sales service.
INCORRECT
Replace the main switch.
INCORRECT
Replace the light switch.
POOR CONNECTION
Replace the fuse(s).
Properly connect the lighting system.

Table of Contents

Related product manuals