EasyManua.ls Logo

GreenWorks CU800 - Adjusting the Parking Brake; Checking the Brake Fluid Level

GreenWorks CU800
231 pages
Print Icon
To Next Page IconTo Next Page
To Next Page IconTo Next Page
To Previous Page IconTo Previous Page
To Previous Page IconTo Previous Page
Loading...
MAINTENANCE AND ADJUSTMENT OF EV CU800 Service Manual
- 66 -
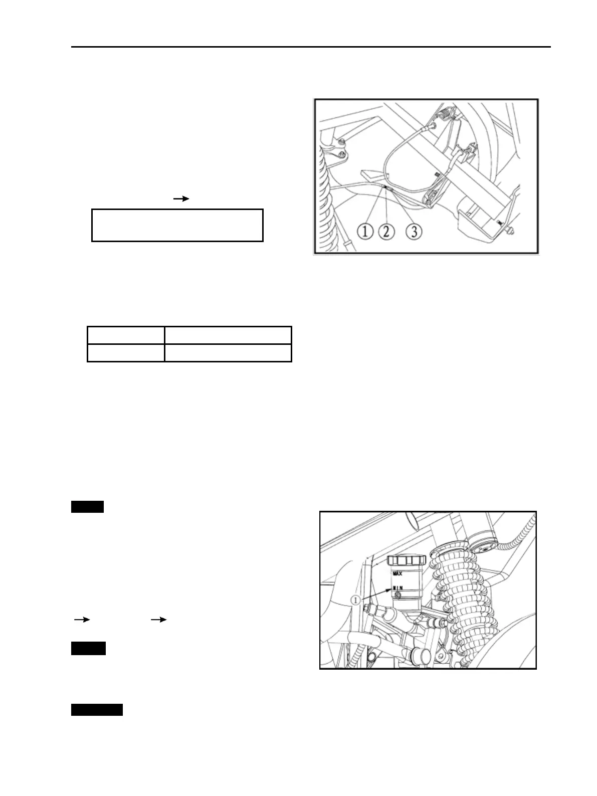
3.2.2 Adjusting the Parking Brake
1. Shift the drive select lever into neutral gear.
2. Remove:
·lift the hood up
Refer to “SEATS” in chapter5
3. Check:
·parking brake cable free play
Out of specification Adjust.
Parking brake cable free play
2 ~ 3 mm (0.079 ~ 0.118 in)
4. Adjust:
·parking brake cable free play
a. Pull back the adjuster cover .
b. Loosen the locknut .
c. Turn the adjuster in or out until the correct free play is obtained.
Turning in
Free play is increased.
Turning out
Free play is decreased.
d. Tighten the locknut .
e. Slide the adjuster cover 1 to its original position.
5. Install:
·closed the hood
3.2.3 Checking the Brake Fluid Level
1. Place the vehicle on a level surface.
NOTE:
When checking the brake fluid level, make sure
that the top of the brake fluid reservoir top is
horizontal.
2. Lift the hood up.
3. Check:
·brake fluid level Fluid level is under “MIN
level line Fill up.
NOTE:
Brake fluid may erode painted surfaces or
plastic parts. Always clean up spilled fluid
immediately.
WARNING
·
Use only the designed quality brake fluid:

Table of Contents

Related product manuals