EasyManua.ls Logo

Haas TL Series - Machine Home Position

Haas TL Series
111 pages
To Next Page IconTo Next Page
To Next Page IconTo Next Page
To Previous Page IconTo Previous Page
To Previous Page IconTo Previous Page
Loading...
Productivity Inc Haas CNC TL Series Lathe Operator Manual Page 7
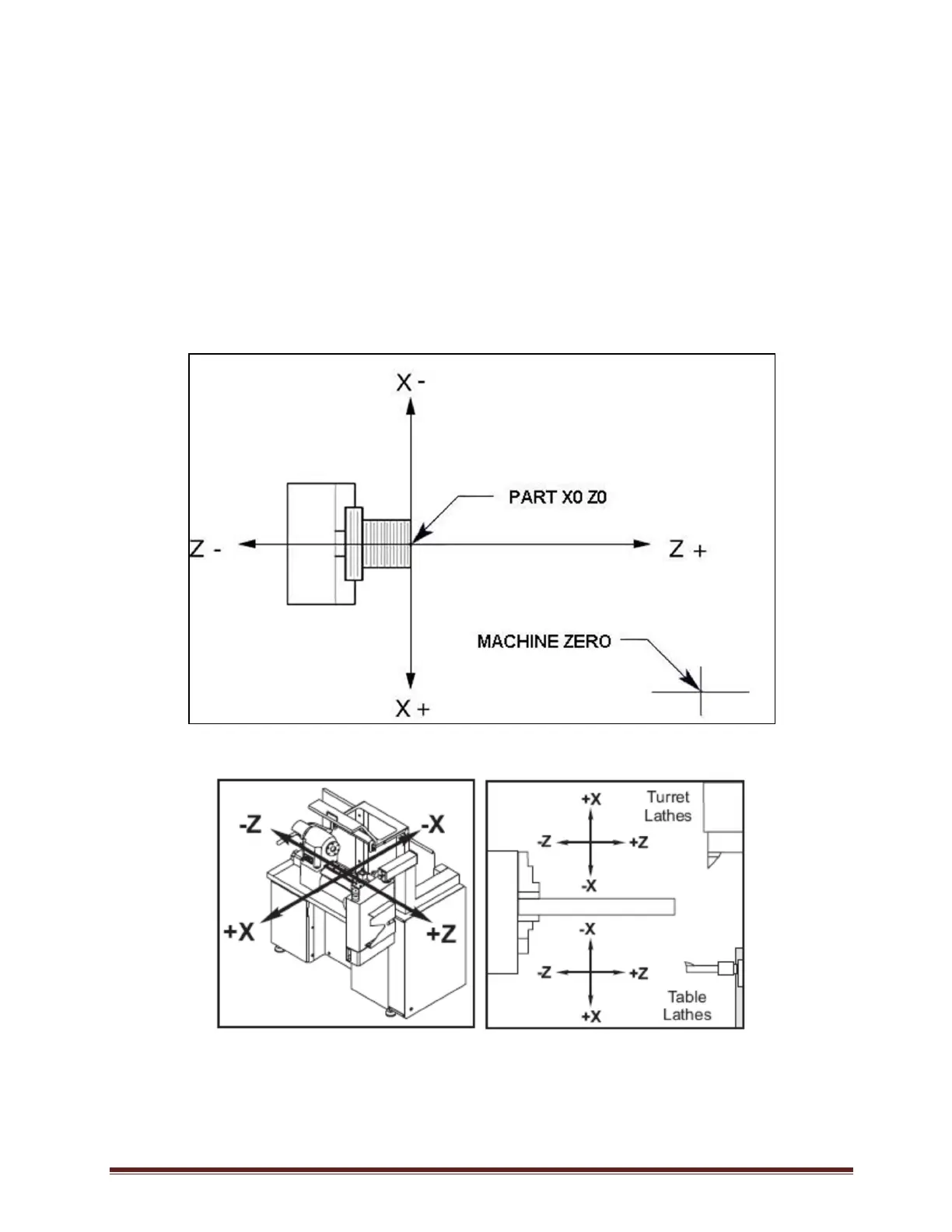
Machine Home Position
The principal of machine home may be seen when doing a manual reference return of all machine axes.
When a zero return (ZERO RET) is performed at machine start up, all axes are moved to the furthest
positive direction until the limit switch is reached. When this condition is satisfied, the only way to move
any of the two axes is in the negative direction. This is because a new zero was set for each of the axes
automatically when the machine was brought Home. Machine home is placed at the edge of each axes
travel.
Sometimes this point is referred to as Machine Zero as pointed out below:
Note the difference in the x coordinate system on a turret lathe and a table lathe. Positive X is in
a direction that points toward the operator on the table lathe. This is due to the fact that the
tool is on the opposite side of the part compared to a turret lathe.

Table of Contents

Related product manuals