EasyManua.ls Logo

Hill-Rom Basic Care P1440 - Replacement; Adjustment

Hill-Rom Basic Care P1440
160 pages
Print Icon
To Next Page IconTo Next Page
To Next Page IconTo Next Page
To Previous Page IconTo Previous Page
To Previous Page IconTo Previous Page
Loading...
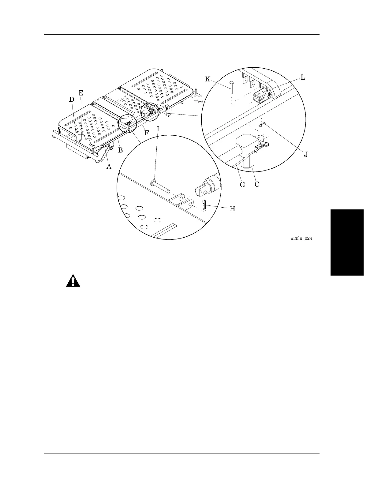
4.8 Head Motor
Chapter 4: Removal, Replacement, and Adjustment Procedures
Basic Care™ Bed Service Manual (man336) Page 4 - 19
4
Figure 4-8. Head Motor
Replacement
CAUTION:
Keep enough slack in the cables to allow the bed to move through its
full range of motion without putting force on any of the cables. Failure to
do so could result in equipment damage.
1. When routing the cables, make sure they have enough slack for the bed to
move through its full range of motion.
2. Do the removal procedure in the reverse order.
Adjustment
Adjust the tension on the CPR cable (G) (refer to procedure 3.2 on page 3-10).

Table of Contents

Related product manuals