EasyManua.ls Logo

Inventec N800G3 - To Install the 3.5 HDD Backplane; To Remove the 3.5 HDD Backplane

Default Icon
258 pages
Print Icon
To Next Page IconTo Next Page
To Next Page IconTo Next Page
To Previous Page IconTo Previous Page
To Previous Page IconTo Previous Page
Loading...
Hardware Operations
2015-MNU-000023
2-24
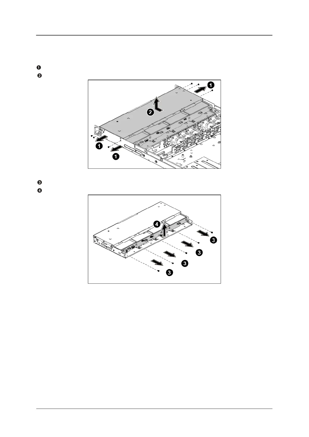
2.13.1 To remove the 3.5”HDD backplane
Remove the screws that secure the HDD cage.
Remove the HDD cage along the direction of the arrow.
Figure 2-44 Removing the 3.5” HDD Cage
Loosen the screws that secure the backplane to the HDD cage.
Remove the backplane from the HDD cage.
Figure 2-45 Removing the 3.5” HDD Backplane
2.13.2 To install the 3.5” HDD backplane
Reverse the steps above to install the backplane.

Table of Contents

Related product manuals