EasyManua.ls Logo

Kidde ARIES - Page 50

Kidde ARIES
282 pages
Print Icon
To Next Page IconTo Next Page
To Next Page IconTo Next Page
To Previous Page IconTo Previous Page
To Previous Page IconTo Previous Page
Loading...
August 2013 2-8 P/N 06-236530-001
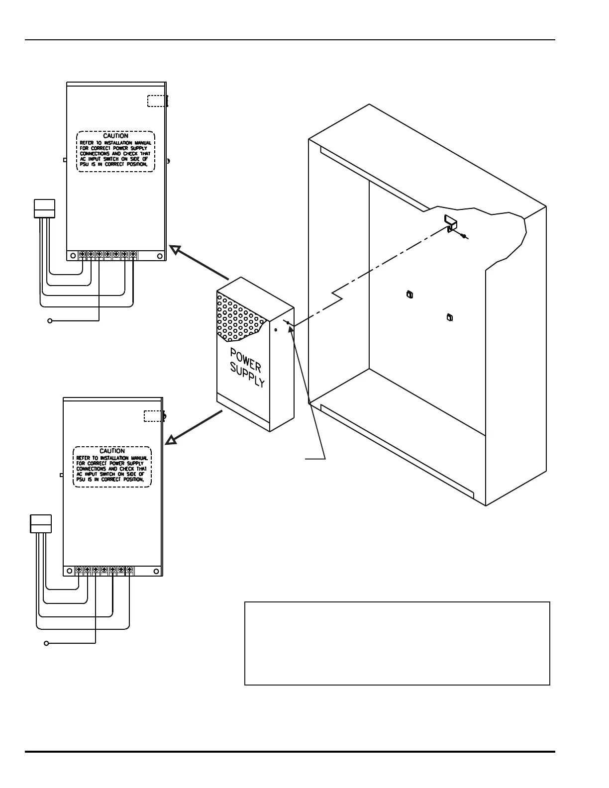
Figure 2-4. Power Supply Unit
Fastening Tab
for Screw
Retention Tabs
Typ (2)
Wiring-Harness
Connections
Ground Wire from Installation Kit
Connect to lower earth-ground stud on left-
hand side of enclosure.
Threaded hole for
3x10mm
mounting screw.
GND
NEUTRAL
LINE
-24V
+24V
BLK
RED
WHT/BLK
WHT
GND
NEUTRAL
LINE
+V
+V
BLK
RED
WHT/BLK
WHT
-V
-V
Or
Wiring-Harness
Connections
Ground Wire from Installation Kit
Connect to lower earth-ground stud on left-
hand side of enclosure.
ATTENTION !
The Control Unit is supplied with one of two equivalent power supplies.
Compare the terminal block wiring legend on the provided power supply
with the diagrams at left and connect the wiring harness as shown in the
applicable diagram.
GRN
GRN

Table of Contents

Related product manuals