EasyManua.ls Logo

Kidde ARIES - Releasing Circuits for Single Control Head or Solenoid Valve

Kidde ARIES
282 pages
Print Icon
To Next Page IconTo Next Page
To Next Page IconTo Next Page
To Previous Page IconTo Previous Page
To Previous Page IconTo Previous Page
Loading...
P/N 06-236530-001 2-23 August 2013
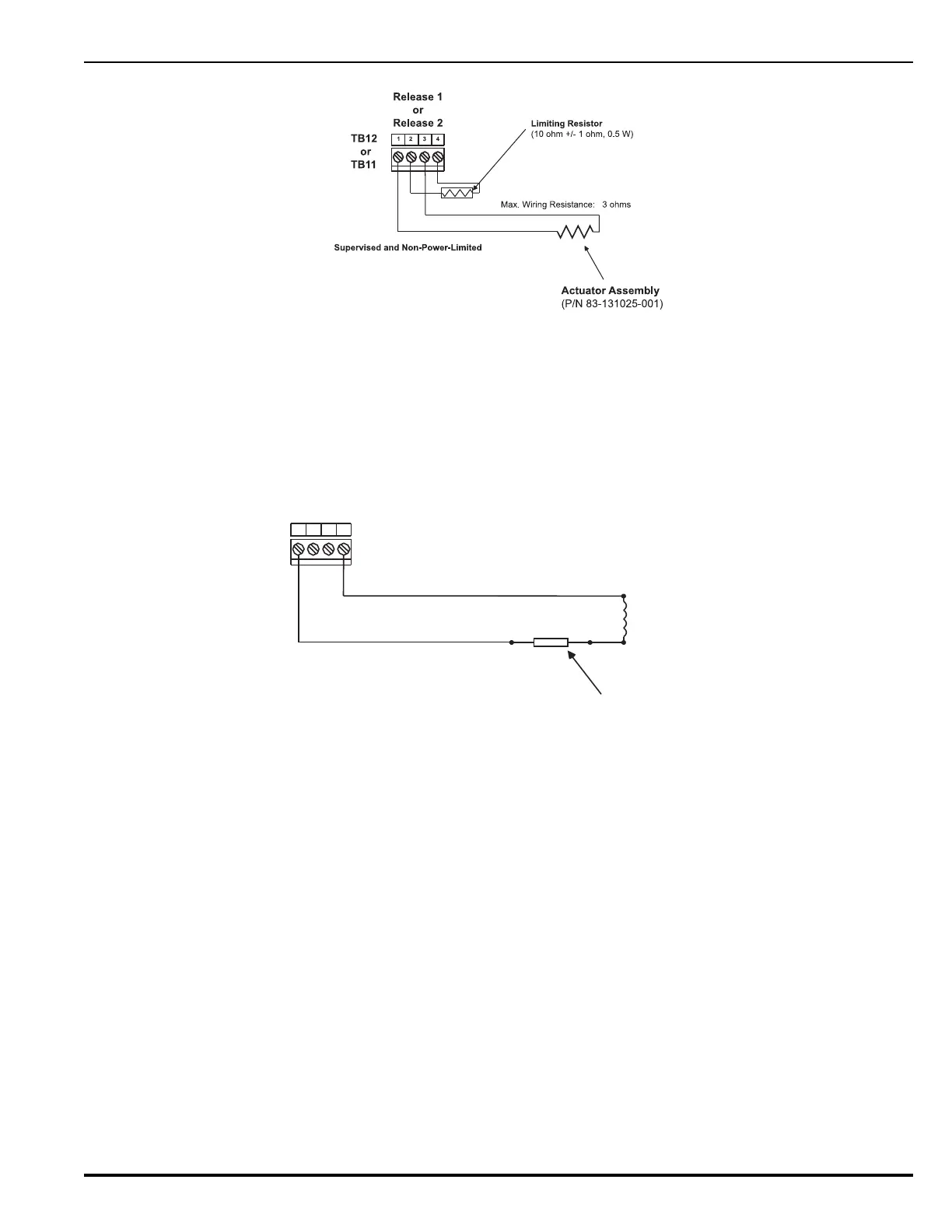
Figure 2-23. Releasing-Circuit Wiring for Actuator
2-11.2 Releasing Circuits for Single Control Head or Solenoid Valve
Each releasing circuit can be configured to activate either one Kidde control head or one
pre-action-sprinkler or deluge-sprinkler valve. Total current output of the ARIES power
supply must not exceed 5.4 A. Figure 2-24 shows a releasing circuit wired for single-
control-head or single-solenoid-valve actuation.
Figure 2-24. Releasing-Circuit Wiring for Single Solenoid
A releasing circuit is supervised and power limited when the in-line device, P/N
06-220023-001, is wired in series with the single control head or solenoid valve. See
Appendix C for compatible control heads and solenoid valves. Refer to the ARIES
Programmer’s Guide to configure the releasing circuits for single-control-head or single-
solenoid-valve actuation.
Route non-power-limited wiring at least 1/4 inch away from all power-limited wiring.
4321
In-Line Releasing Device (P/N 06-220023-001)
(Must be close nippled to solenoid enclosure)
Supervised and Power-Limited
Blk
Red
Solenoid
(Refer to Appendix C)
Release 1 or
Release 2
TB12 or
TB11

Table of Contents

Related product manuals