EasyManua.ls Logo

Miller Nitro 7310 - Machine Orientation

Miller Nitro 7310
404 pages
Print Icon
To Next Page IconTo Next Page
To Next Page IconTo Next Page
To Previous Page IconTo Previous Page
To Previous Page IconTo Previous Page
Loading...
1-GENERALINFORMATION
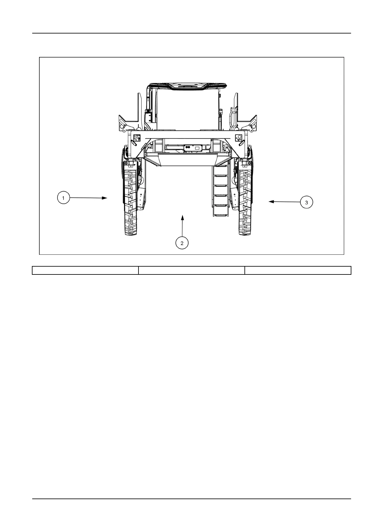
Machineorientation
RAIL17SP00704FA1
1.Right-handside
2.Frontofunit3.Left-handside
1-7

Table of Contents

Related product manuals