EasyManua.ls Logo

Miller Nitro 7310 - Page 181

Miller Nitro 7310
404 pages
Print Icon
To Next Page IconTo Next Page
To Next Page IconTo Next Page
To Previous Page IconTo Previous Page
To Previous Page IconTo Previous Page
Loading...
4-OPERATINGINSTRUCTIONS
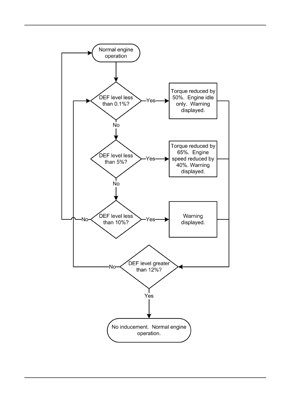
DEF/AdBlue®levelfaults,failures,andenginepowerlosslevels
NHPH14ENG0567HA2
4-15

Table of Contents

Related product manuals