EasyManua.ls Logo

noax N11 - Compact C15 P Mounting Details

noax N11
120 pages
Print Icon
To Next Page IconTo Next Page
To Next Page IconTo Next Page
To Previous Page IconTo Previous Page
To Previous Page IconTo Previous Page
Loading...
User Manual N11
Installation
Industrial PC
www.noax.comPage 34 of 120 3085-US-2.4
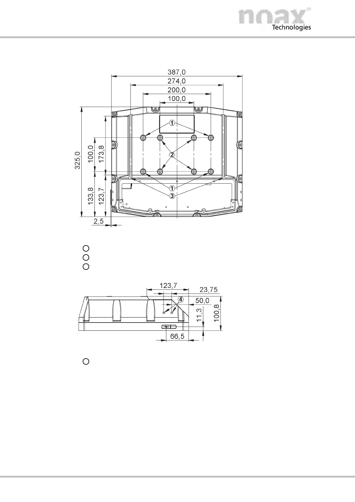
8.6.2
Industrial PC Compact - C15P
Fig. 15: Rear panel C15P (all dimensions in mm)
VESA 200 x 100 mounting option with M6 thread (depth 7.5 mm / 0.3 inches)
VESA 100 mounting option with M6 thread (depth 7.5 mm / 0.3 inches)
2x T‐slot as per DIN 508
Fig. 16: Side view C15P (all dimensions in mm)
Side mounting option for accessories – M6 thread (depth 10.0mm / 0.39 inches)
1
2
3
4

Table of Contents

Related product manuals