EasyManua.ls Logo

noax N11 - Steel S19 Mounting Details

noax N11
120 pages
Print Icon
To Next Page IconTo Next Page
To Next Page IconTo Next Page
To Previous Page IconTo Previous Page
To Previous Page IconTo Previous Page
Loading...
User Manual N11
Installation
Industrial PC
www.noax.comPage 40 of 120 3085-US-2.4
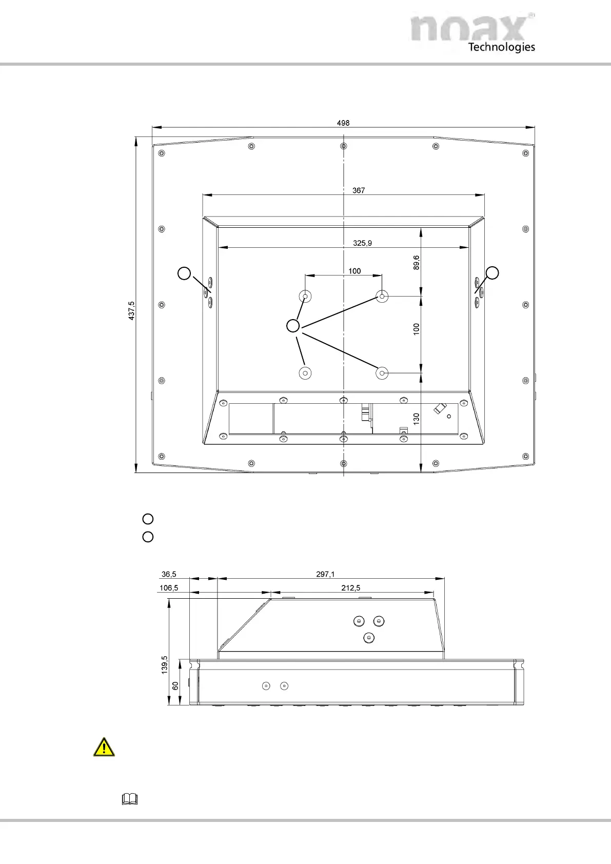
8.8.2
Industrial PC Steel - S19
1
2 2
Fig. 26: Rear panel S19 (all dimensions in mm)
VESA 100 mounting option with M6 thread (depth 7.5 mm / 0.3 inches)
Side mounting option for device bracket
Fig. 27: Side view S19 (all dimensions in mm)
Warning
Make sure that the device is stable and attached securely. When choosing your mount
ing option, pay attention to the weight of the device.
See also the technical data in Chapter 15
1
2

Table of Contents

Related product manuals