EasyManua.ls Logo

Panasonic DP-8020E - When Adjusting the ADF Unit

Panasonic DP-8020E
498 pages
Print Icon
To Next Page IconTo Next Page
To Next Page IconTo Next Page
To Previous Page IconTo Previous Page
To Previous Page IconTo Previous Page
Loading...
378
SEP 2006
Ver. 1.0
DP-8020E/8020P/8016P
Document
Adjustment
Amount
Printed
Image
Adjustment
Remarks
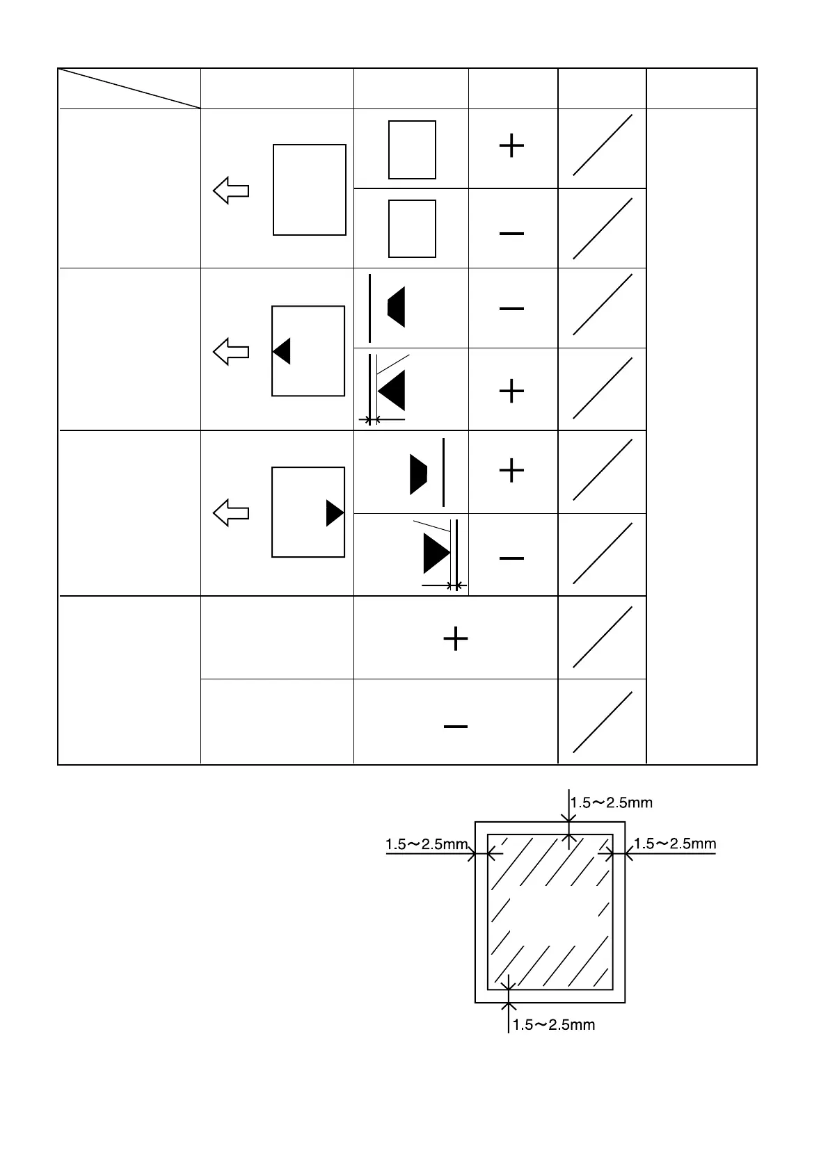
No. 90
ADF Detection
Timing
No. 92
ADF Original
Trailing Edge
Registration
No. 93
ADF Magnification
Ratio (Top Feed)
No. 91
ADF Original
Leading Edge
Registration
Adjust the ADF Unit to scan the lined part
(inside of the margin 1.5 - 2.5mm)
on the document as shown on the right.
< When Adjusting the ADF Unit >
0.1%
1 Point
0.3mm
1 Point
0.3mm
1 Point
0.1%
1 Point
0.3mm
1 Point
0.3mm
1 Point
0.05mm
1 Point
0.05mm
1 Point
A
A
A
Paper
Travel
Paper
Travel
Paper
Travel
Void
Void
Shadow of
Document
Leading Edge
Shadow of
Document
Leading Edge
(ADF Image Read
Start Position
Adjustment)
Rebooting is
not necessary
to enable the
Parameter
Setting.
Reduced
Enlarged
(Original Trail
Edge Detection
Timing Adjustment)
(Ratio Adjustment
when the scan
is made)
Image
Data
Image
Data
Image
Data
(Original Lead
Edge Detection
Timing Adjustment)

Table of Contents

Other manuals for Panasonic DP-8020E

Related product manuals