EasyManua.ls Logo

Renesas RL78/G13 - Page 563

Renesas RL78/G13
1092 pages
Print Icon
To Next Page IconTo Next Page
To Next Page IconTo Next Page
To Previous Page IconTo Previous Page
To Previous Page IconTo Previous Page
Loading...
RL78/G13 CHAPTER 12 SERIAL ARRAY UNIT
R01UH0146EJ0100 Rev.1.00 544
Sep 22, 2011
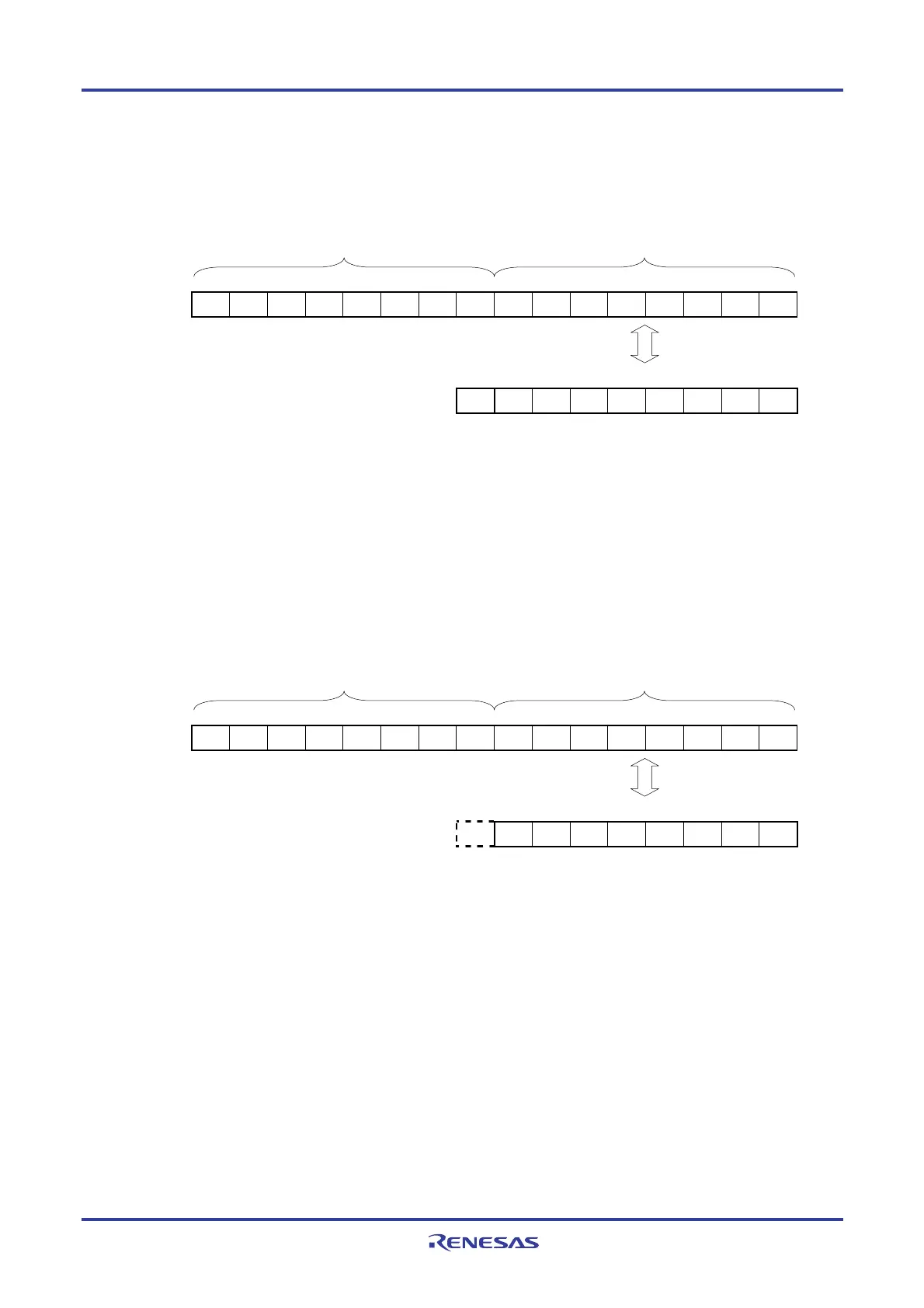
Figure 12-3. Format of Serial Data Register mn (SDRmn) (mn = 00, 01, 10, 11)
Address: FFF10H, FFF11H (SDR00), FFF12H, FFF13H (SDR01) After reset: 0000H R/W
FFF48H, FFF49H (SDR10)
Note
, FFF4AH, FFF4BH (SDR11)
Note
15 14 13 12 11 10 9 8 7 6 5 4 3 2 1 0
SDRmn
8 7 6 5 4 3 2 1 0
Shift register
Note 80, 100, 128-pin products
Remark For the function of the higher 7 bits of the SDRmn register, see 12.3 Registers Controlling Serial
Array Unit.
Figure 12-4. Format of Serial Data Register mn (SDRmn) (mn = 02, 03, 10, 11, 12, 13)
Address: FFF44H, FFF45H (SDR02), FFF46H, FFF47H (SDR03), After reset: 0000H R/W
FFF48H, FFF49H (SDR10)
Note
, FFF4AH, FFF4BH (SDR11)
Note
FFF14H, FFF15H (SDR12), FFF16H, FFF17H (SDR13)
15 14 13 12 11 10 9 8 7 6 5 4 3 2 1 0
SDRmn 0
8 7 6 5 4 3 2 1 0
Shift register
Note 20 to 64-pin products
Caution Be sure to clear bit 8 to “0”.
Remark For the function of the higher 7 bits of the SDRmn register, see 12.3 Registers Controlling Serial
Array Unit.
FFF11H (SDR00)
FFF10H (SDR00)
FFF45H (SDR02)
FFF44H (SDR02)
<R>
<R>

Table of Contents

Other manuals for Renesas RL78/G13

Related product manuals