EasyManua.ls Logo

REXROTH IndraDrive HCQ02 - HCT02 Overview and Data

REXROTH IndraDrive HCQ02
148 pages
Print Icon
To Next Page IconTo Next Page
To Next Page IconTo Next Page
To Previous Page IconTo Previous Page
To Previous Page IconTo Previous Page
Loading...
Reduced output current at motor standstill
Depending on the electric output frequency, the output current is
reduced for thermal protection of the power section.
The output current is reduced, when the electric output frequency
has fallen below the threshold to detect motor standstill.
5.2 HCT02
5.2.1 Brief Description, Use and Design
Brief Description
The compact multi-axis converters HCT02 are part of the Rexroth IndraDrive
C product range and are used to operate one powerful axis and two auxiliary
axes.
Use
The different types are used as follows:
Type Use
HCT02.1E-W0025-A-03-… Operation of up to three three-phase a.c. motors
(asynchronous or synchronous motor)
Fig.5-13: Use of HCT02
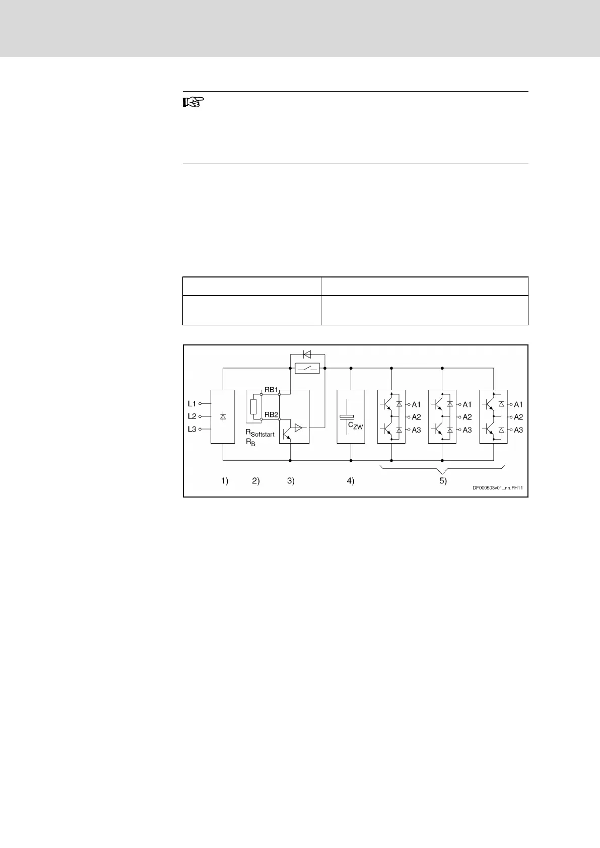
Design, Block Diagram
1) Mains input with rectifier
2) External resistor
3) Braking resistor circuit; charging current limitation; external resistor re‐
quired at X9 (RB1, RB2)
4) DC bus capacitors
5) Inverter stages with output to motors
Fig.5-14: HCT02.1E-W0025-A-03-… Block Diagram
5.2.2 Technical Data
Ambient and Operating Conditions
General Information
Conditions for transport and storage: See index entry "Transport Of the
components" or "Storage → Of the components".
Installation conditions: See index entry "Installation conditions".
This chapter contains:
Limit values for use in the scope of C-UL
Applied standards (CE conformity, UL listing)
Bosch Rexroth AG DOK-INDRV*-HCQ-T+HMQ-T-PR03-EN-P
Rexroth IndraDrive Drive Controllers HCQ, HCT
50/145
Technical Data of the Components

Table of Contents

Related product manuals