EasyManua.ls Logo

Schaerer 7300 - Page 78

Schaerer 7300
231 pages
Print Icon
To Next Page IconTo Next Page
To Next Page IconTo Next Page
To Previous Page IconTo Previous Page
To Previous Page IconTo Previous Page
Loading...
SECTION IV
MAINTENANCE / SERVICE
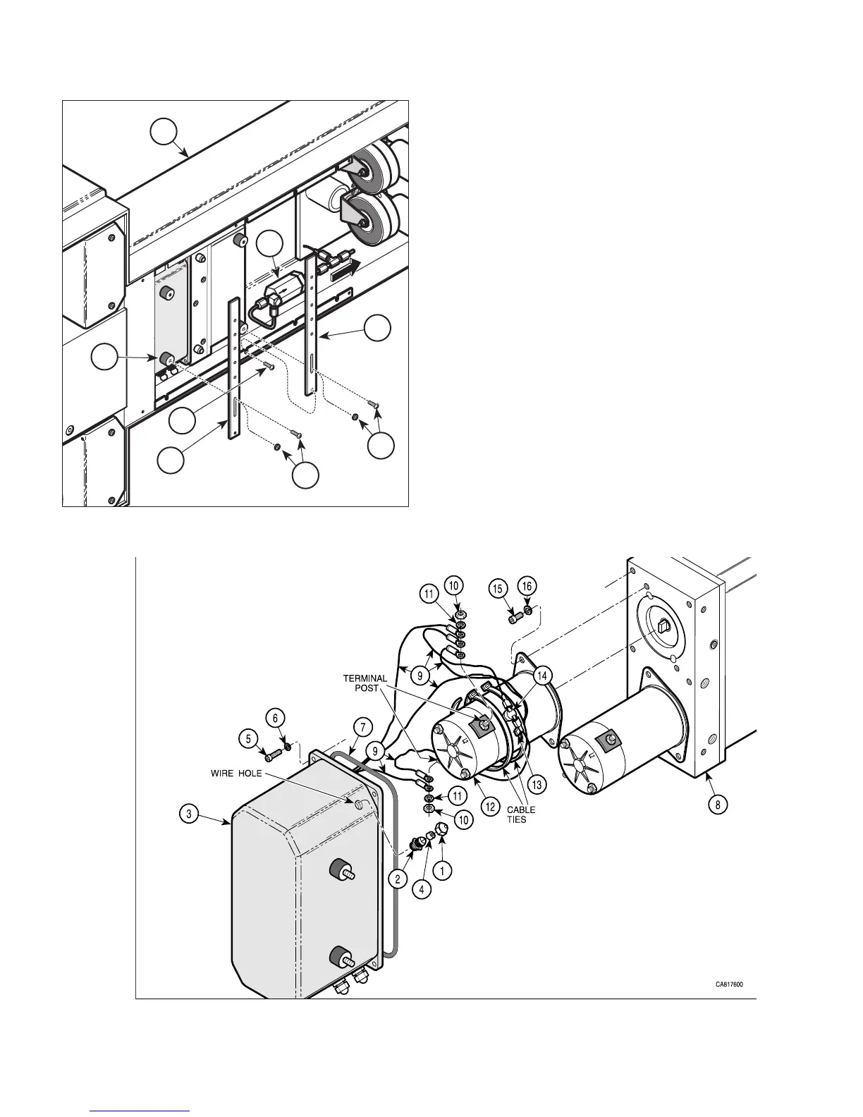
(3) Feed wires (9) thru wire hole in motor cover (3).
(4) Install four wires (9) on two terminal posts of
motor (12) and secure with two lockwashers (11)
and nuts (10).
(5) Coat gasket (7) with a light coat of oil.
(6) Install gasket (7) on motor cover (3).
(7) Install motor cover (3) on manifold (8) and
secure with four lockwashers (6) and
screws (5).
(8) Screw electrical fitting (2) into motor cover (3).
(9) Push plastic plug (4) into electrical fitting (2).
(10) Screw cap (1) onto electrical fitting (2).
(11) Position motor pump (6, Figure 4-45) in base
weldment (4).
(12) Pull tube assembly (5) w/discharge filter back
into position in base weldment (4).
Page 4-44Printed in U.S.A.
Figure 4-45. Motor Pump Assembly
Removal / Installation
Figure 4-46. Motor Removal / Installation
CA817500
1
3
2
4
6
2
3
5
© Schaerer Mayfield USA, Inc. 2004

Table of Contents

Other manuals for Schaerer 7300