EasyManua.ls Logo

Sennheiser G4-A - Auto Lock Menu Item

Sennheiser G4-A
123 pages
Print Icon
To Next Page IconTo Next Page
To Next Page IconTo Next Page
To Previous Page IconTo Previous Page
To Previous Page IconTo Previous Page
Loading...
Using the EK IEM G4
72
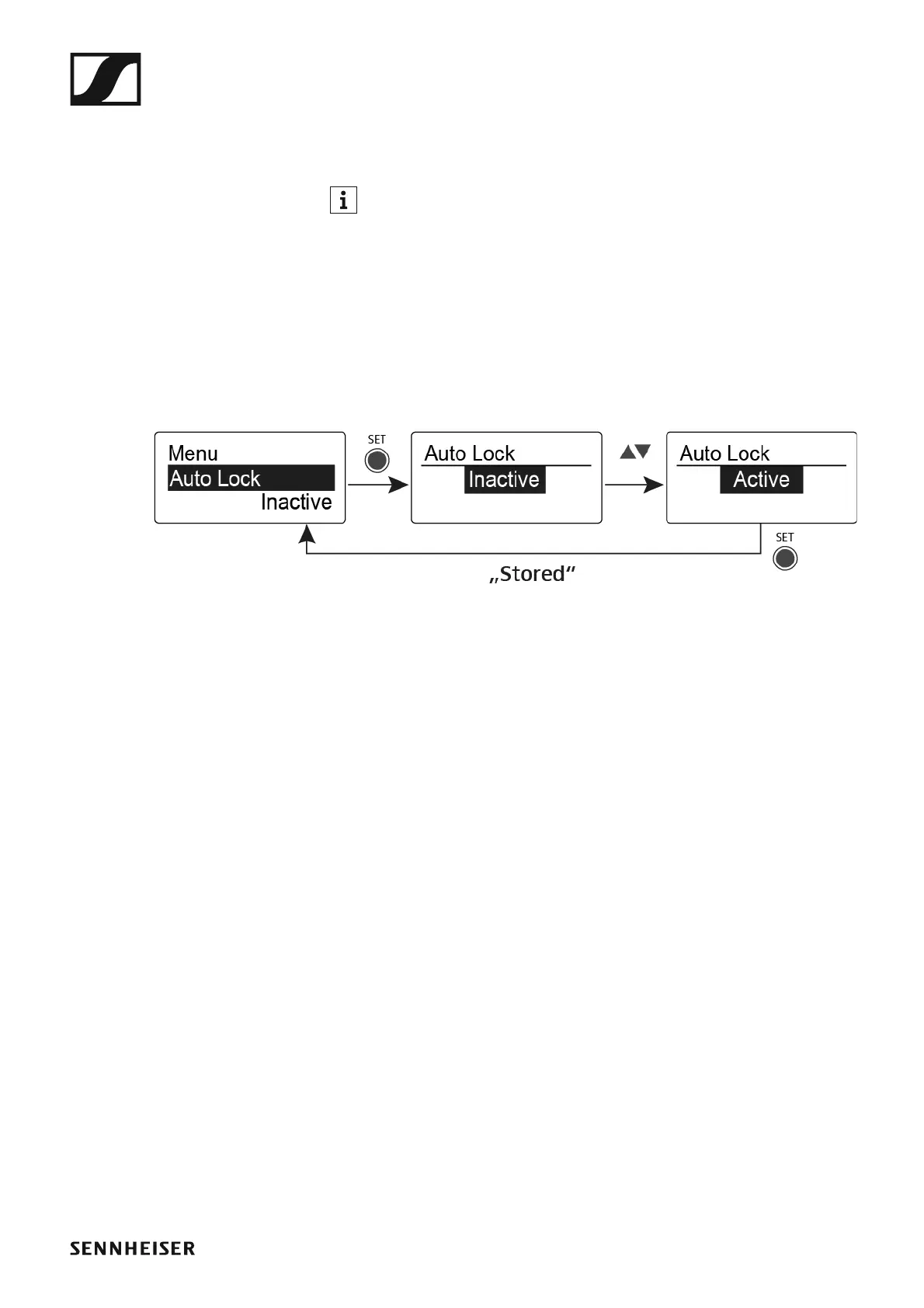
Auto Lock menu item
In the Auto Lock menu item you can activate or deactivate the auto lock-
off function.
You can find information about temporarily deactivating the lock-off
function during operation under “Lock-off function”.
To open the Auto Lock menu item:
On the home screen, press the SET button to open the operating menu.
Press the UP or DOWN button until the Auto Lock menu item appears
in the selection frame.
Press the SET button to open the menu item.
Adjust the settings as desired.
Press the SET button to save the changes you made to the settings.
or
Press the ESC button to cancel the entry without saving the settings.

Table of Contents

Related product manuals