EasyManua.ls Logo

Sennheiser G4-A - Advanced -> Volume Boost Menu Item; Advanced -> LCD Contrast Menu Item

Sennheiser G4-A
123 pages
Print Icon
To Next Page IconTo Next Page
To Next Page IconTo Next Page
To Previous Page IconTo Previous Page
To Previous Page IconTo Previous Page
Loading...
Using the EK IEM G4
76
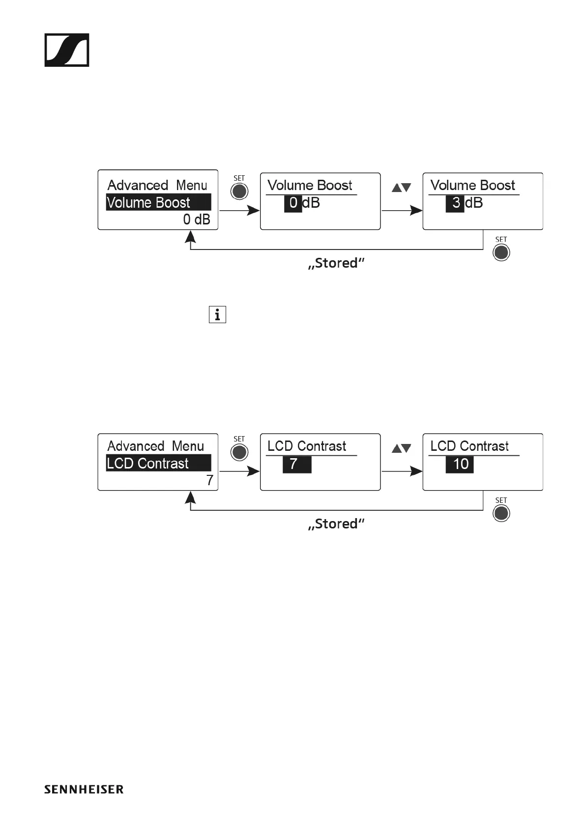
Advanced -> Volume Boost menu item
In the Volume Boost menu item of the Advanced submenu, you can adjust
the volume boost.
Setting range:
0 dB, +3 dB or +6 dB
When configuring the settings, ensure that the audio signal is not dis-
torted.
Advanced -> LCD Contrast menu item
In the LCD Contrast menu item of the Advanced submenu, you can adjust
the display contrast of the display panel.

Table of Contents

Related product manuals