EasyManua.ls Logo

Siemens LMV36.520A1 - Page 85

Siemens LMV36.520A1
248 pages
To Next Page IconTo Next Page
To Next Page IconTo Next Page
To Previous Page IconTo Previous Page
To Previous Page IconTo Previous Page
Loading...
85/248
Building Technologies Division Basic documentation LMV36... CC1P7544en
Infrastructure & Citiies Sector 7 Basic unit 25.09.2013
V1-Gas V2-Gas
GP2
Program
SA
P
min
P
max
P
Gas
PV-Gas
SV-Oil
LOgp-2V
Program
V1-Oil
V2-Oil
Light oil
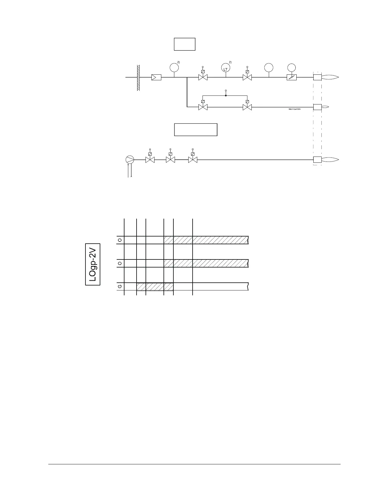
Figure 60: Dual fuel burner gas / light oil with gas pilot ignition, with 2 fuel valves
Light oil (with gas pilot ignition)
V3
PV V1 V2
TSA1
TSA2
Operation
Bild 313e/0114
Figure 61: Light oil with gas pilot ignition – fuel valve control - program
Legend for fuel trains:
1) For the valve proving function,
the pressure switch-min (Pmin)
is located between the fuel valve
(V1 / V2)
LO Light oil
No Normally Open
LK Air damper
P LT Valve proving
Pmax Pressure switch-max
Pmin Pressure switch-min
PV Pilot valve
SA Actuator
SV Safety valve (outdoors)
TSA... Safety time
V Fuel valve
Z Ignition
Dual fuel burner gas / light oil
with gas pilot ignition with 2
fuel valves
(Operating mode 3, 9, 16, 21)
(Operating mode 13)
Fuel valve control program

Table of Contents

Related product manuals