EasyManua.ls Logo

Siemens Simatic S7-400

Siemens Simatic S7-400
472 pages
To Next Page IconTo Next Page
To Next Page IconTo Next Page
To Previous Page IconTo Previous Page
To Previous Page IconTo Previous Page
Loading...
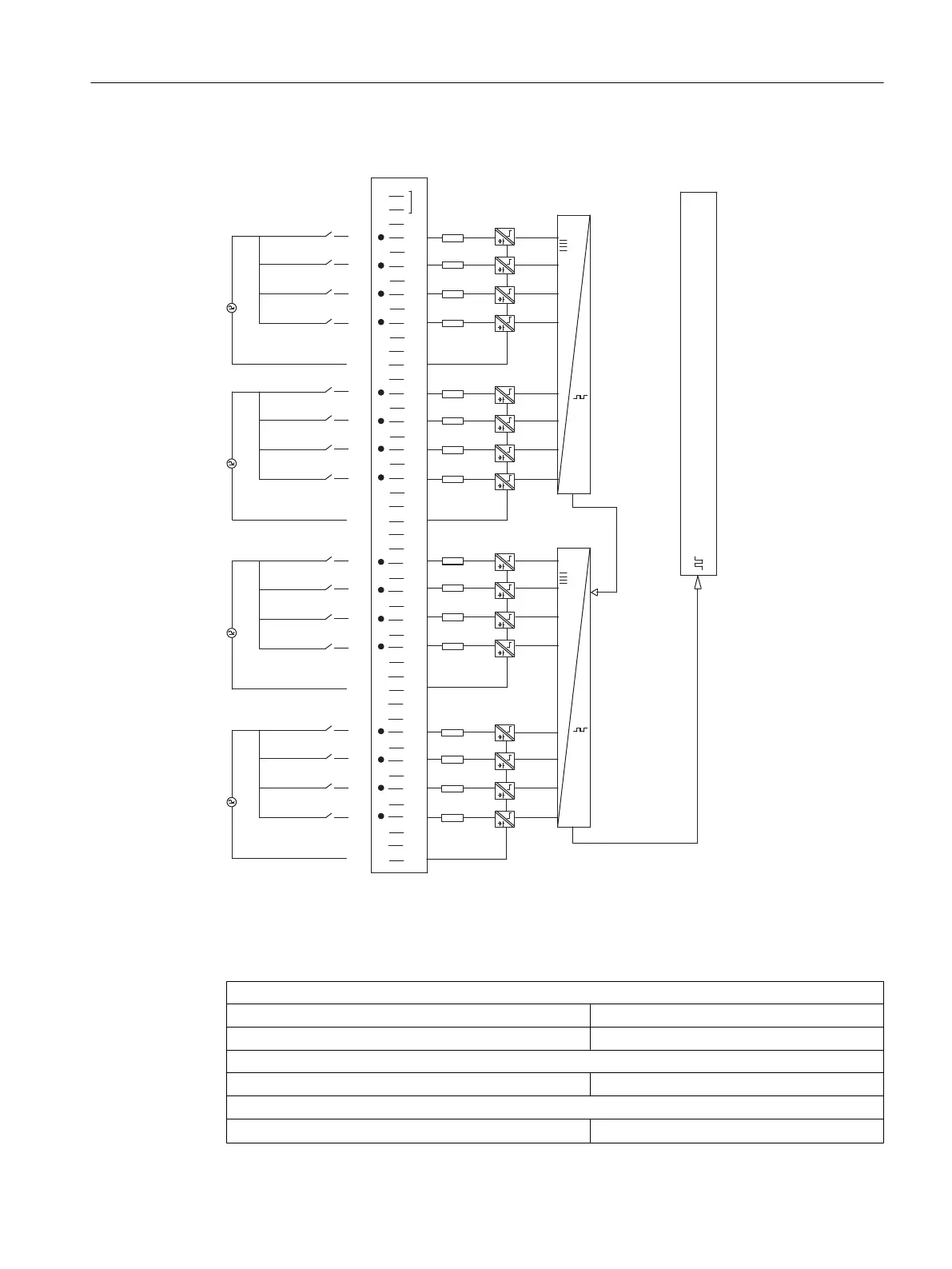
Connection and circuit diagram for SM 421; DI 16 x UC 120/230 V
1
2
3
4
5
6
7
8
9
11
12
13
14
15
16
17
18
19
20
21
22
23
24
25
26
27
28
29
30
31
32
33
34
35
36
37
38
39
40
41
42
43
44
45
46
47
48
1
2
0
3
5
6
4
7
5
6
4
7
1
2
0
3
4N
1N
10
2N
3N
Process Module
Data register and bus control
Figure 4-9 Connection and circuit diagram for SM 421; DI 16 x UC 120/230 V
Technical specifications for SM 421; DI 16 x UC 120/230 V
Dimensions and weight
Dimensions W x H x D (mm) 25 x 290 x 210
Weight ca. 650 g
Module-specific data
Number of inputs 16
Cable length
unshielded
600 m
Digital modules
4.12 Digital input module SM 421; DI 16 x UC 120/230 V (6ES7421-1FH20-0AA0)
S7-400 Automation System Module Data
Reference Manual, Ausgabe 11/2016, A5E00850736-08 123

Table of Contents

Other manuals for Siemens Simatic S7-400

Related product manuals