EasyManua.ls Logo

Siemens SIMATIC S7 - Page 414

Siemens SIMATIC S7
866 pages
To Next Page IconTo Next Page
To Next Page IconTo Next Page
To Previous Page IconTo Previous Page
To Previous Page IconTo Previous Page
Loading...
Communication
8.4 Ethernet
S7-200 SMART
414 System Manual, V2.3, 07/2017, A5E03822230-AF
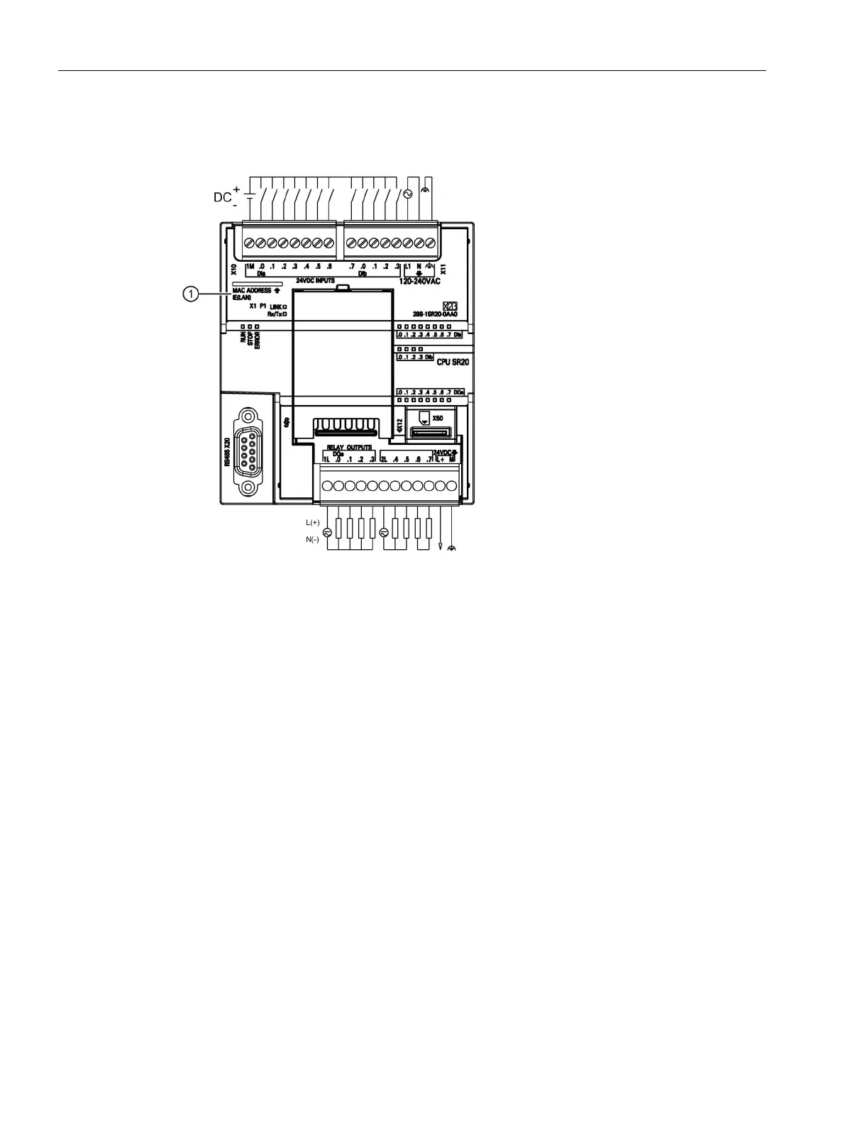
The MAC address is printed on the front, upper-left corner of the CPU. Note that you have to
open the upper door to see the MAC address information.
MAC address

Table of Contents

Other manuals for Siemens SIMATIC S7

Related product manuals