EasyManua.ls Logo

Sony HCD-HPX7 - CD MECHANISM DECK SECTION-4 (CDM82 A)

Sony HCD-HPX7
110 pages
Print Icon
To Next Page IconTo Next Page
To Next Page IconTo Next Page
To Previous Page IconTo Previous Page
To Previous Page IconTo Previous Page
Loading...
90
HCD-HPX7
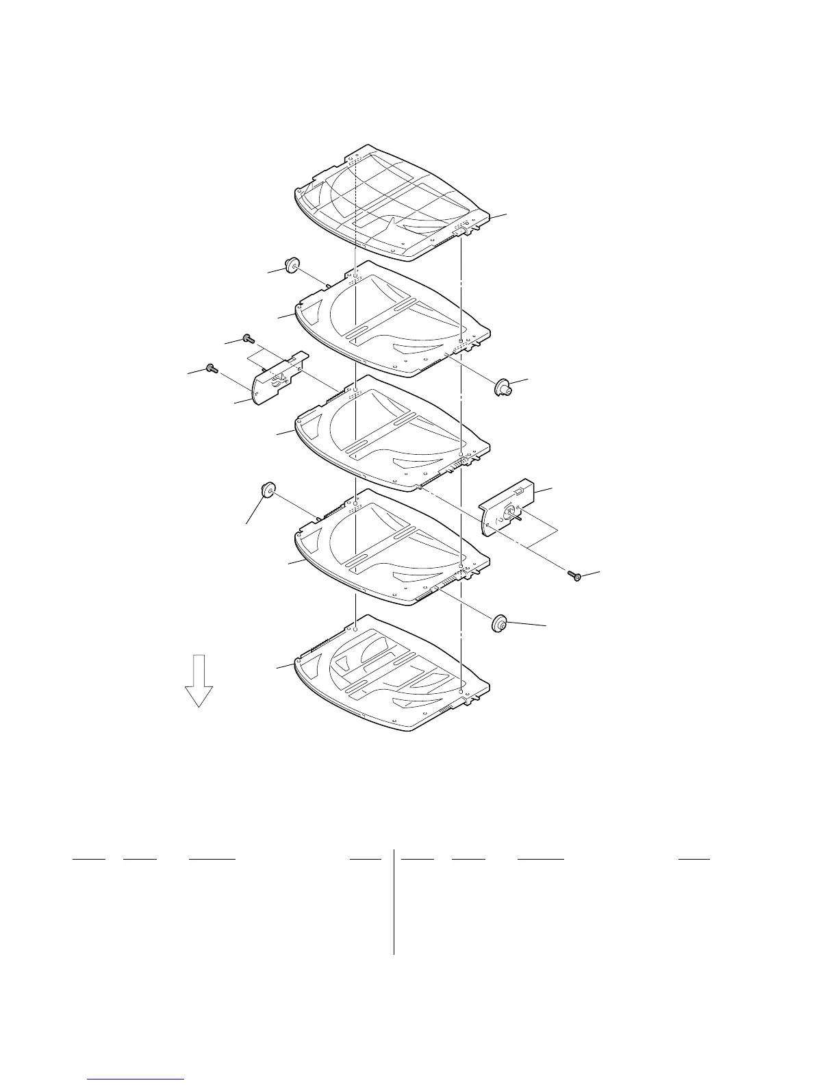
8-8. CD MECHANISM DECK SECTION-4
(CDM82A)
851 A-1060-624-A STOCKER (5) ASSY
852 A-1060-625-A STOCKER (4) ASSY
853 4-252-800-01 GEAR (STOCK LOT SHORT)
854 A-1060-626-A STOCKER (3) ASSY
855 4-252-798-01 BOX (L), STOCK
856 4-253-344-01 SCREW (2)
857 A-1060-627-A STOCKER (2) ASSY
858 A-1060-628-A STOCKER (1) ASSY
859 4-252-801-01 GEAR (STOCK LOT LONG)
860 4-252-799-01 BOX (R), STOCK
861 2-149-046-01 SCREW (1.7 BOX), STEP TAPPING
Ref. No. Part No. Description Remark Ref. No. Part No. Description Remark
851
859
854
852
860
856
853
853
858
857
853
856
861
855
UPPER
SIDE

Table of Contents

Related product manuals