EasyManua.ls Logo

Tektronix 2230

Tektronix 2230
188 pages
To Next Page IconTo Next Page
To Next Page IconTo Next Page
To Previous Page IconTo Previous Page
To Previous Page IconTo Previous Page
Loading...
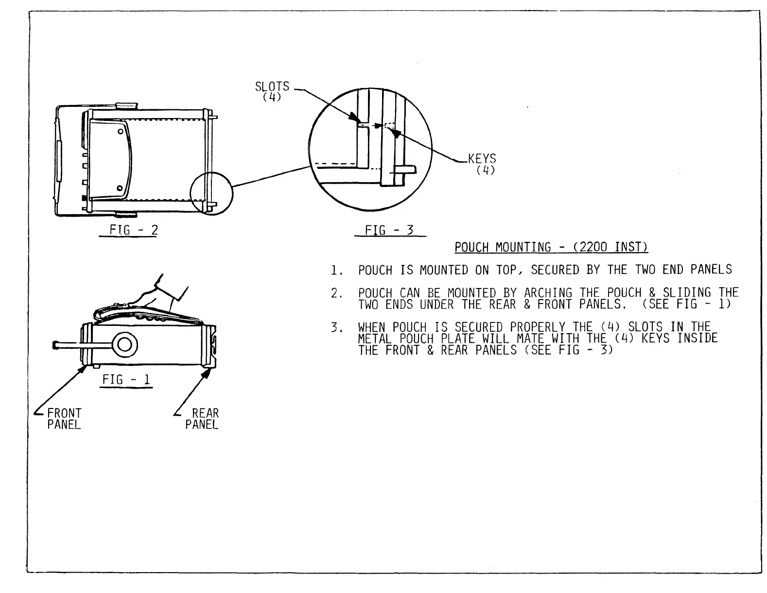
FlG
- 2
FIG
- 3
KEYS
(4)
POUCH
MOUNTING
-
(2200
INST)
1.
POUCH
IS
MOUNTED
ON
TOPJ
SECURED
BY
THE
TWO
END
PANELS
2.
POUCH
CAN
BE
MOUNTED
BY
ARCHING
THE
POUCH
&
SLIDING
THE
TWO
ENDS
UNDER
THE
REAR
&
FRONT
PANELS.
CSEE
FIG
-
1)
3.
WHEN
POUCH
IS
SECURED
PROPERLY
THE
(4)
SLOTS
IN
THE
METAL
POUCH
PLATE
WILL
MATE
WITH
THE
(4)
KEYS
INSIDE
THE
FRONT
&
REAR
PANELS
CSEE
FIG
-
3)

Table of Contents

Other manuals for Tektronix 2230

Related product manuals