EasyManua.ls Logo

Teletek electronics IRIS - 2.2.3 Output Module (I;O Module) and 4 Relay Module

Teletek electronics IRIS
52 pages
Print Icon
To Next Page IconTo Next Page
To Next Page IconTo Next Page
To Previous Page IconTo Previous Page
To Previous Page IconTo Previous Page
Loading...
Fire Panel IRIS - Installation Manual 11
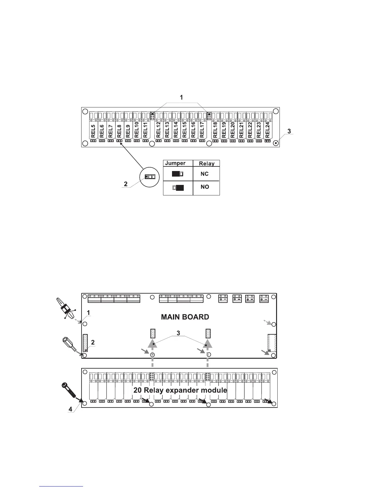
2.2.4 20 Relay Expander Module
20 Relay Expander Module (Figure 14.) is an additional module by which the total number of the program-
mable outputs increases to 24. The expander consists of 20 relays, controlling 20 separate outputs (110V /
1A) – numbered REL5 – REL24.
The function of the relays is just to open or close the output circuit according to their configuration (the posi
-
tion of the jumper).
It is possible the relay of the respective programmable output to open the circuit (NC: the left terminal lead)
or to close it (NO: the right terminal lead) according to the middle lead of each terminal.
Figure 14. General view of 20 Relay Expander Module.
• REL5 – REL24 – Programmable outputs, 110V / 1A;
• NC - Normally closed contact;
• NO - Normally open contact;
1 - Flat interface connectors for connecting 20 Relay expander module to the Main board;
2 - Jumper leads for programming the function of the respective relay – to open (NC) or to
close (NO) the circuit;
3 - Mounting holes for fixing the 20 Relay expander module to the Main board.
Adding of 20 Relay Expander Module to the Main Board of the fire panel
Figure 15.
1 – Place the mounting clips into the pointed holes, as shown on Figure 15.
2 – Screw the mounting supports into the pointed holes, as shown on Figure 15.
3 – Place 20 Relay expander module on the Main board, thus the flat interface connectors
on the both PCBs to connect to each other.
4 – Fix with suitable bolts 20 Relay expander module to the Main Board.

Table of Contents

Other manuals for Teletek electronics IRIS

Related product manuals