EasyManua.ls Logo

TESTO 6383 - Page 25

TESTO 6383
140 pages
Print Icon
To Next Page IconTo Next Page
To Next Page IconTo Next Page
To Previous Page IconTo Previous Page
To Previous Page IconTo Previous Page
Loading...
4 Transmitter
25
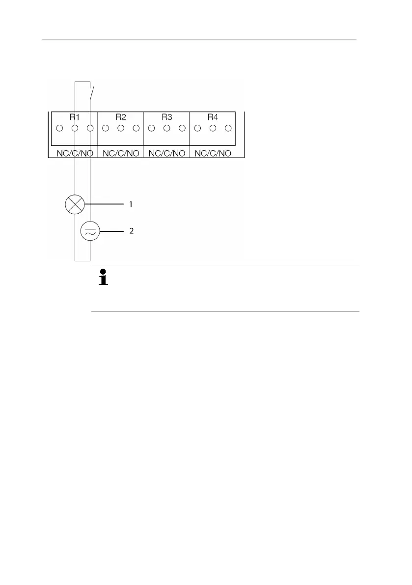
Use of relay as NO contact (NO = normally open)
1 Alarm/status light
(example of installation)
2 250 V AC/DC, 3 A
The busy light (alarm/status light) only comes on when the
relay is switched (closed). Monitoring the functionality of the
alarm circuit is therefore not possible with this switching
operation.
5. Insert relay terminal strip into socket.
6. Set on relay cover.

Table of Contents

Related product manuals