EasyManua.ls Logo

TESTO 6383 - Connecting;Removing the Probe To;From the Transmitter

TESTO 6383
140 pages
Print Icon
To Next Page IconTo Next Page
To Next Page IconTo Next Page
To Previous Page IconTo Previous Page
To Previous Page IconTo Previous Page
Loading...
6 testo 6610 probes
98
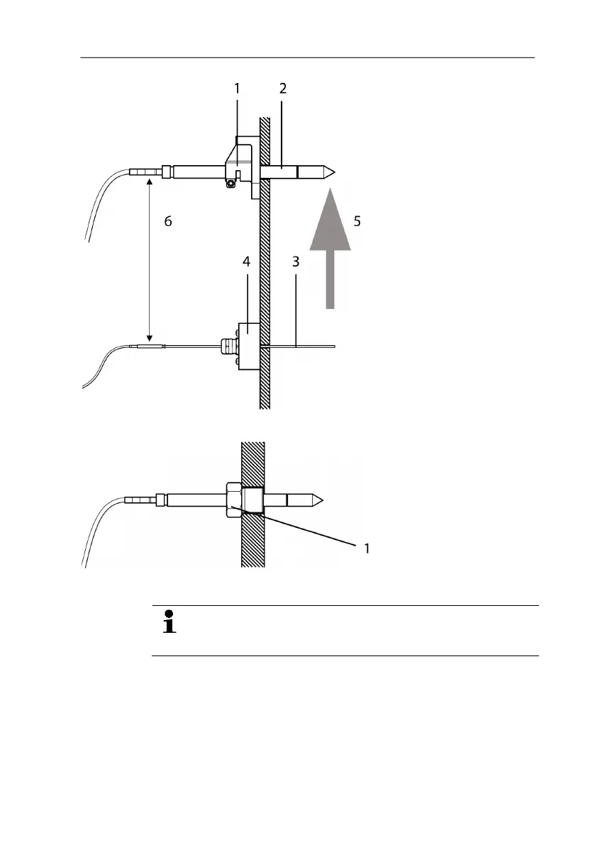
1
Wall/duct holder (order
no. 0554 6651)
2
testo 6614
3
Temperature probe
4
Assembly tool, supplied
with the wall/duct holder
(order no. 0554 6651)
5
Direction of flow
6
approx. 10 cm distance
C Process mounting
1
Cutting ring screw
connection (order no.
0554 1795)
During installation, ensure that the probe cannot be damaged
during operation.
For the testo 6614 (heated probe version), please use the
cutting ring screw connection, order no. 0400 6193, to
assemble the temperature probe.
6.3.2. Connecting/removing the probe to/from the
transmitter
Insert probe connector into socket of testo 6383 until it
engages. The testo 6383 identifies which probe is connected.
To remove the probe, the lock release button on the probe must
be pressed so that this can be removed.

Table of Contents

Related product manuals