EasyManua.ls Logo

TESTO 6383 - Page 97

TESTO 6383
140 pages
Print Icon
To Next Page IconTo Next Page
To Next Page IconTo Next Page
To Previous Page IconTo Previous Page
To Previous Page IconTo Previous Page
Loading...
6 testo 6610 probes
97
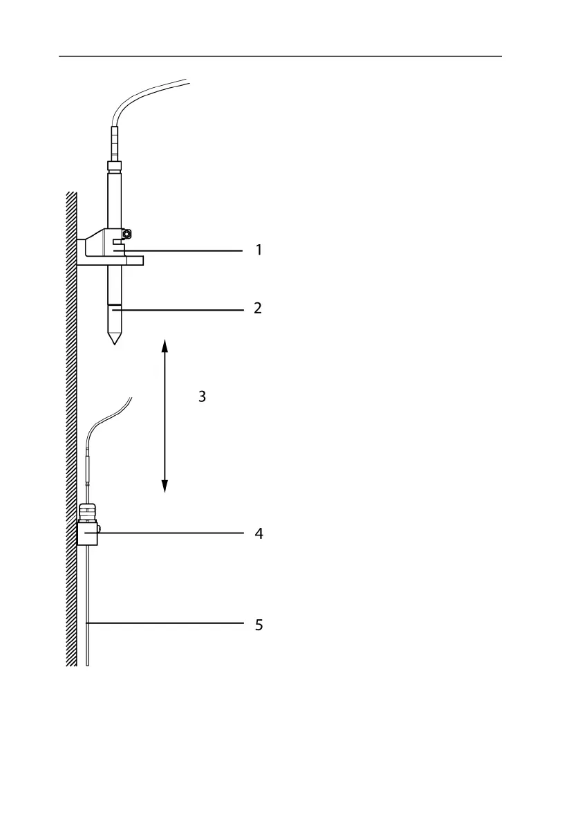
1
Wall/duct holder (order
no. 0554 6651)
2
testo 6614
3
Distance of probe tips of
humidity probe -
temperature probe: As
close as possible, but
without touching
(distance between probe
tips max. 10 cm)
4
Assembly tool, supplied
with the wall/duct holder
(order no. 0554 6651)
5
Temperature probe
B Duct mounting of testo 6614 heated probe
When mounting the testo 6614 heated probe version, the
temperature probe must also secured at a distance of
approximately 10 cm from the humidity probe. An appropriate
assembly tool is supplied with the testo 6614.

Table of Contents

Related product manuals