EasyManua.ls Logo

Yamaha 55DEHD - Clamp Bracket and Swivel Bracket

Yamaha 55DEHD
269 pages
Print Icon
To Next Page IconTo Next Page
To Next Page IconTo Next Page
To Previous Page IconTo Previous Page
To Previous Page IconTo Previous Page
Loading...
6885J11
7-20
9
8
7
6
5
4
3
2
1
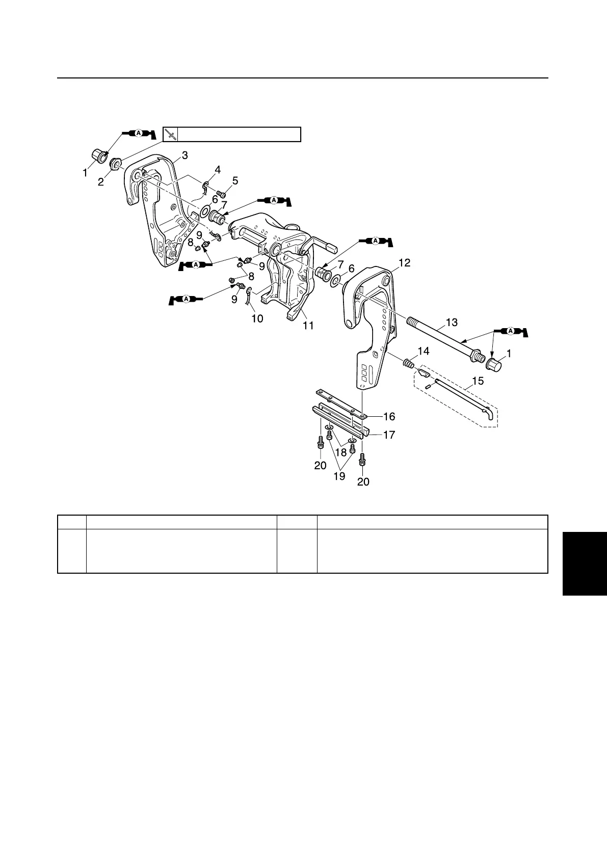
Clamp bracket and swivel bracket
15 N·m (1.5 kgf·m, 11.1 ft·lb)
6887050E
EHD, ED
No. Part name Qty Remarks
18 Washer 2
19 Bolt 2 M6 × 12 mm
20 Bolt 2 M6 × 16 mm
6885J11_07a 07.10.12 15:16 Page 23

Table of Contents