EasyManua.ls Logo

Yamaha 55DEHD - Carburetor

Yamaha 55DEHD
269 pages
Print Icon
To Next Page IconTo Next Page
To Next Page IconTo Next Page
To Previous Page IconTo Previous Page
To Previous Page IconTo Previous Page
Loading...
FUEL
4-
6885J11
4-9
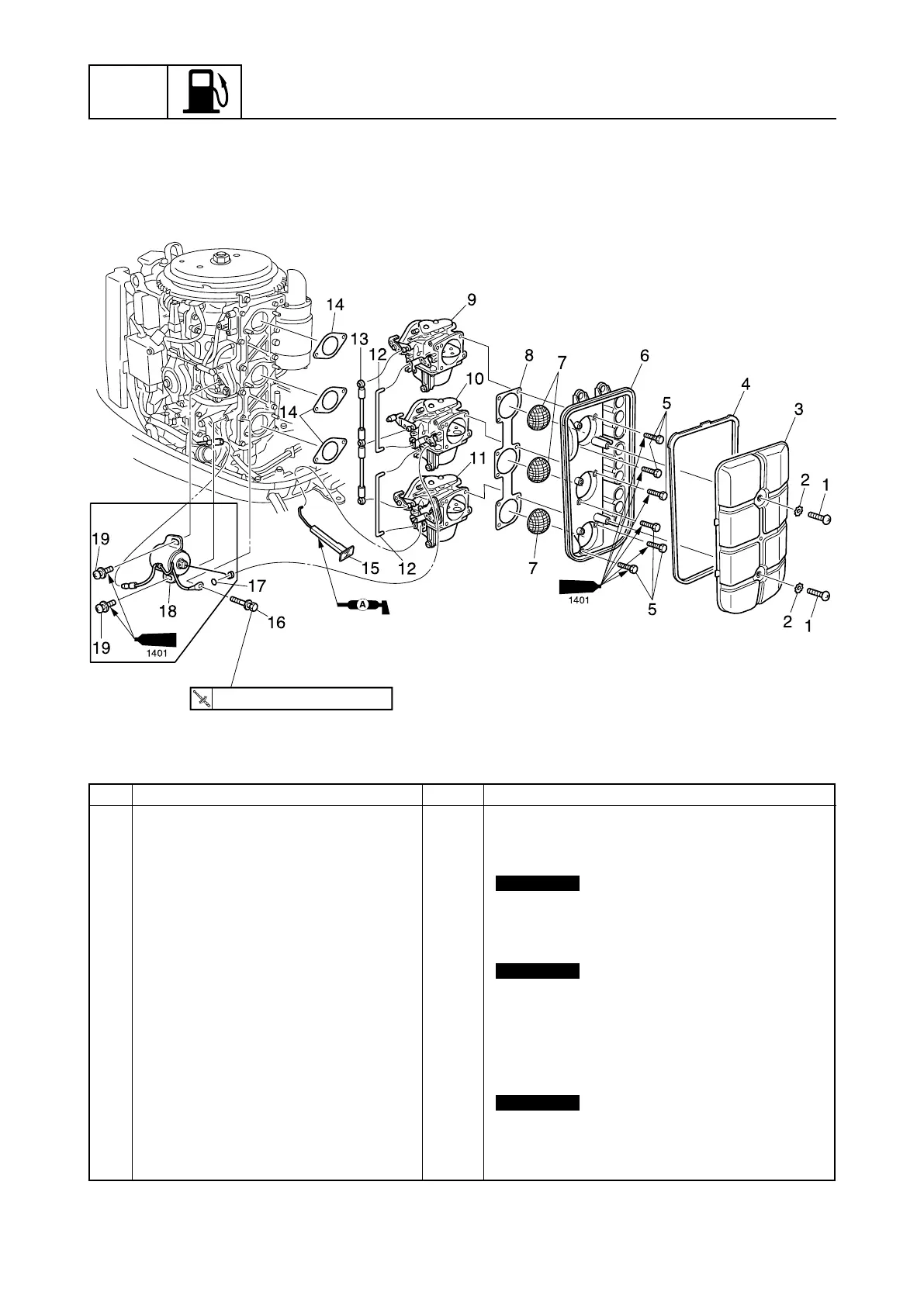
Fuel system
Carburetor
ED, ET
12 N·m (1.2 kgf·m, 8.9 ft·lb)
6884060E
No. Part name Qty Remarks
1 Screw 2 ø6 × 15 mm
2 Washer 2
3 Cover 1
4 Gasket 1
5 Bolt 6 M6 × 18 mm
6 Intake silencer 1
7 Cap 3
8 Gasket 1
9 Carburetor assembly #1 1
10 Carburetor assembly #2 1
11 Carburetor assembly #3 1
12 Rod 2
13 Link rod 1
14 Gasket 3
15 Choke knob 1
16 Bolt 1 M6 × 30 mm
17 O-ring 1 ED, ET
Not reusable
Not reusable
Not reusable
6885J11_04 06.10.3 11:49 Page 10

Table of Contents