EasyManua.ls Logo

Yamaha MX360 - Controls and Features; Machine Component Views

Yamaha MX360
178 pages
Print Icon
To Next Page IconTo Next Page
To Next Page IconTo Next Page
To Previous Page IconTo Previous Page
To Previous Page IconTo Previous Page
Loading...
DIMENSIONS
1-3
1
2
3
4
5
6
7
8
9
10
GENERAL INFORMATION
18
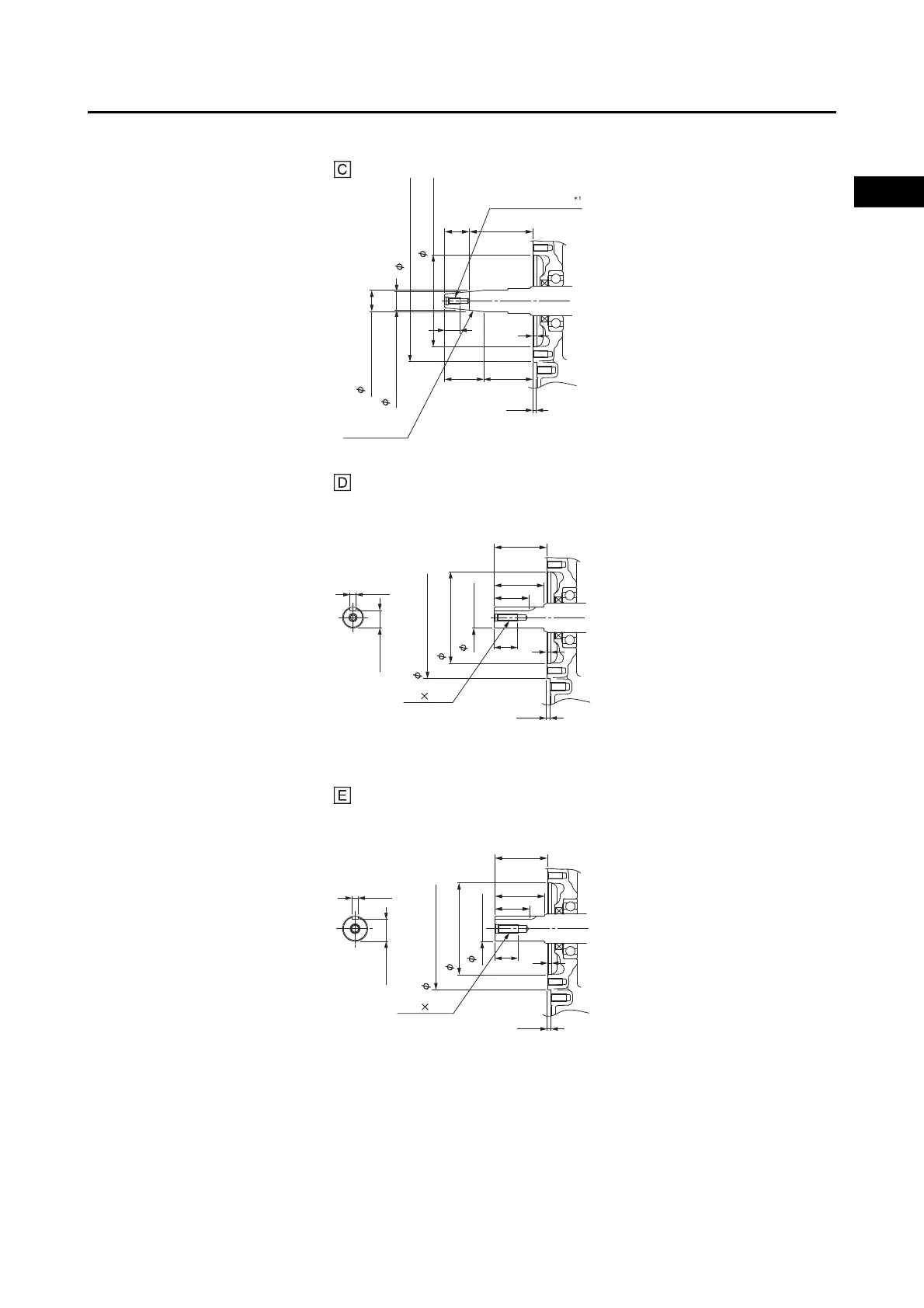
146.08h7
-0.040
0
110H8
0
+0.054
58.746.8
5
4.5
25.4h7
-0.021
0
22.161h7
-0.021
0
TAPER 3/16
76
29.5
5/16 -24UNF-2B
63
60
42
28
25h7
-0.021
0
110H8
+0.054
0
146.08h7
-0.040
0
21
-0.1
0
7
0
+0.05
4.5
5
M8 1.25
63
60
42
28
30h7
-0.021
0
110H8
+0.054
0
146.08h7
-0.040
0
26
-0.1
0
7
0
+0.05
4.5
5
M10 1.25

Table of Contents

Other manuals for Yamaha MX360

Related product manuals