EasyManua.ls Logo

Yamaha MX360 - Engine Speed Adjustment

Yamaha MX360
178 pages
Print Icon
To Next Page IconTo Next Page
To Next Page IconTo Next Page
To Previous Page IconTo Previous Page
To Previous Page IconTo Previous Page
Loading...
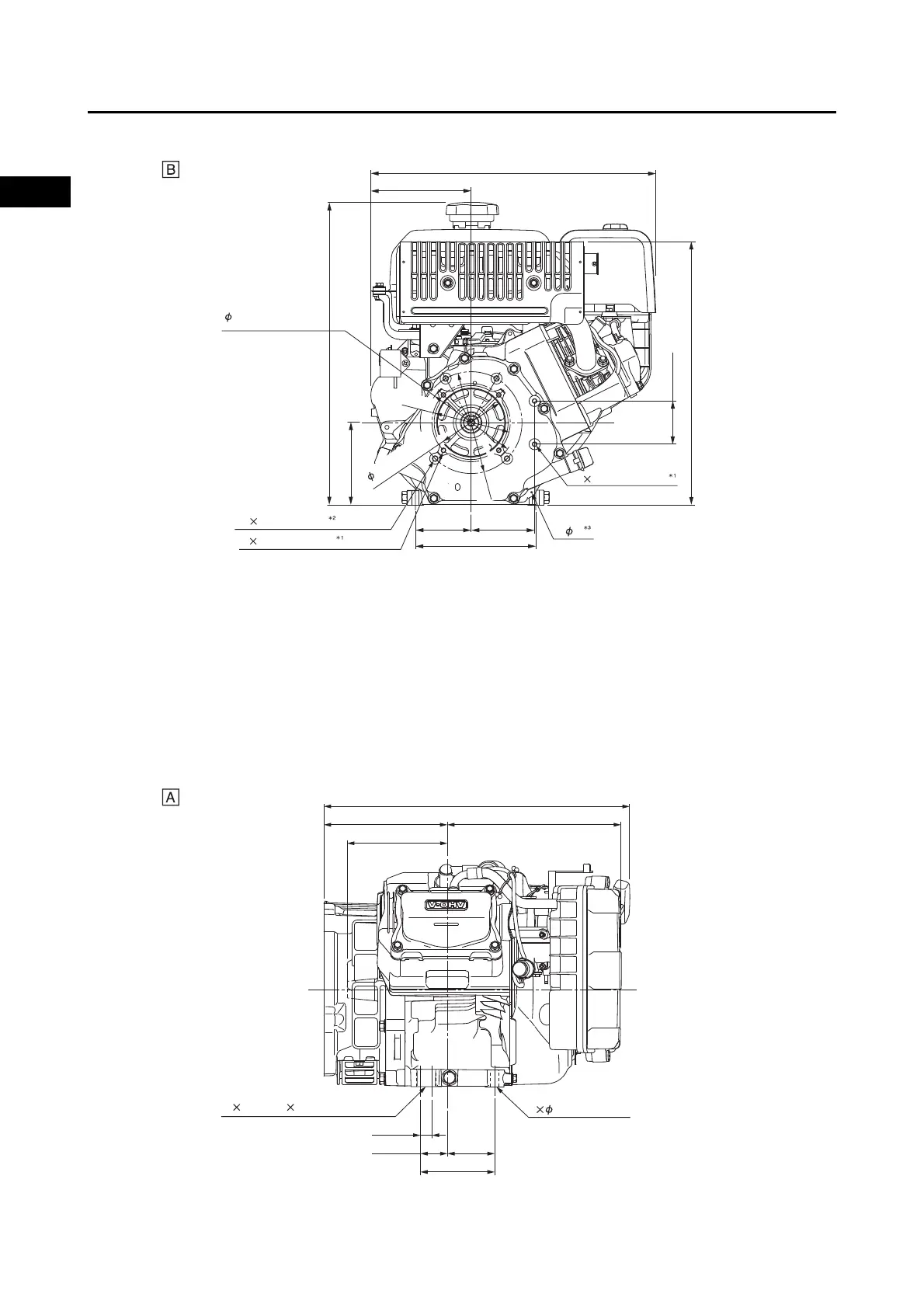
DIMENSIONS
1-8
1
2
3
4
5
6
7
8
9
10
GENERAL INFORMATION
*1: UNF: Unified fine thread (Unit: in)
*2: UNC: Unified coarse thread (Unit: in)
*3: Inch screw identification mark of the mount face
A: 7HCC (MZ360LHIDE)
B: 7HC2, 7HC3, 7HCJ, 7HCB (MX360BA6A0, MX360C46A5, MX360AA6A0, MX360AA6A5,
MX360AA6A6, MX360KA6D0 for KOR)
FRONT
mm (in)
427 (16.81)
462 (18.19)
163 (6.42)
490 (19.29)
133.5 (5.26)
90.5 (3.56)
195.5 (7.7)
103 (4.06)
70 (2.76)
4 5/16-24UNF-2B
DEPTH18
4 3/8-16UNC2B
DEPTH18
165.1
(60.5)
( 9)
2 5/16-24UNF-2B
DEPTH18
127(5)
110H8
+0.054
0
146.08h7
-0.04
0
421.2 (16.58)
170 (6.69)
138 (5.43)
239.5 (9.43)
2 11 (0.43)
(Hole)
65 (2.56)37 (1.46)
16 (0.63)
102 (4.02 )
2 11 (0.43)
27 (1.06)
(Slot hole)

Table of Contents

Other manuals for Yamaha MX360

Related product manuals