EasyManua.ls Logo

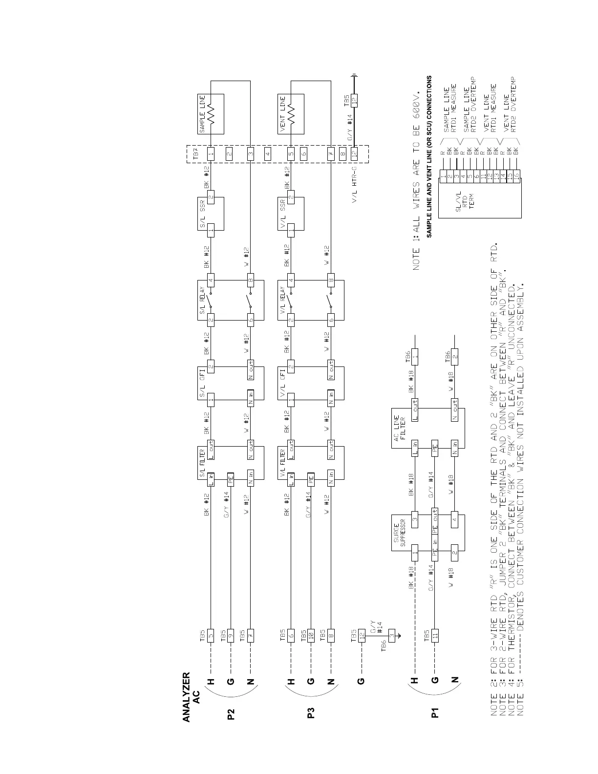
Ametek 930 - Lower Cabinet Wiring, CE;GP Analyzers, 240 V (100-1342-3

Ametek 930
256 pages
Print Icon
To Next Page IconTo Next Page
To Next Page IconTo Next Page
To Previous Page IconTo Previous Page
To Previous Page IconTo Previous Page
Loading...
Appendix A – Drawings | A-7
Lower Cabinet Wiring, CE/GP Analyzers, 240V (100-1342-3)

Table of Contents

Related product manuals