EasyManua.ls Logo

Ametek 930 - Model 9 Xx-Series Analyzer Type 200 Disconnect Enclosure Details

Ametek 930
256 pages
Print Icon
To Next Page IconTo Next Page
To Next Page IconTo Next Page
To Previous Page IconTo Previous Page
To Previous Page IconTo Previous Page
Loading...
A-16 | Model 900 ADA / Model 930 Sulfur Pit Analyzers
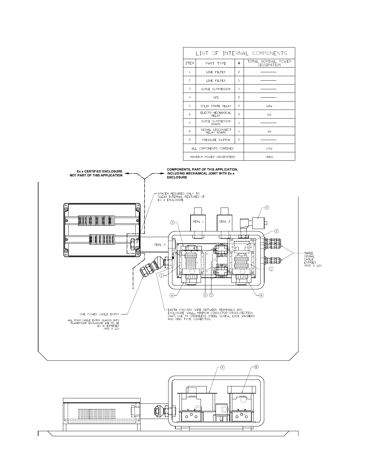
Model 9xx-Series Analyzer Type 200 Disconnect Enclosure Details

Table of Contents

Related product manuals