EasyManua.ls Logo

Boss VF-1 - Pb5 Keyboard Multi

Boss VF-1
144 pages
Print Icon
To Next Page IconTo Next Page
To Next Page IconTo Next Page
To Previous Page IconTo Previous Page
To Previous Page IconTo Previous Page
Loading...
57
Algorithm list
Section 4
P
B
5 KEYBOARD MULTI
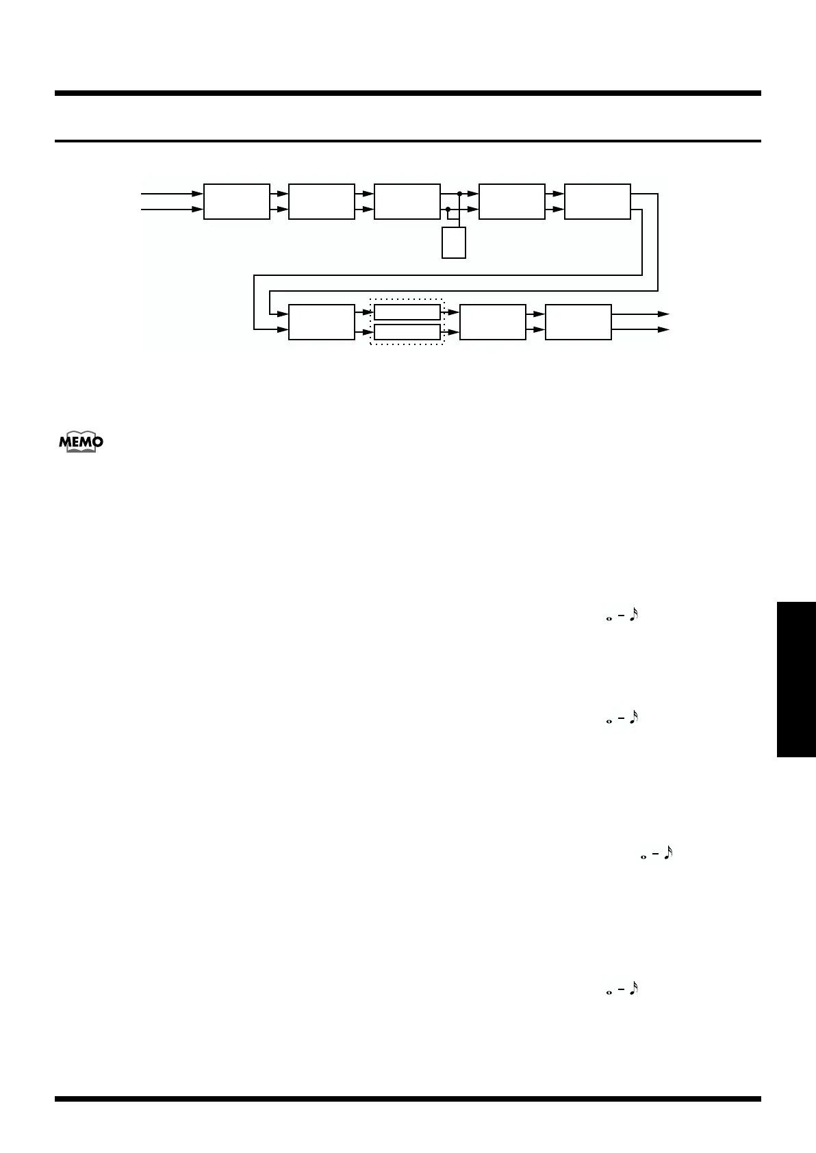
fig.4-211
This is a multi-effect suitable for keyboard.
It provides a wide variety of effects ranging from basic sounds, to special effects using a ring modulator or pitch shifter.
MOD: MODULATION lets you select one of the following effects.
MOD: FL (Flanger)
PH (Phaser)
RING MODULATOR
EFFECT OFF, ON
FREQ 0–100
FX LEVEL 0–100
DIR LEVEL 0–100
4BAND EQ (Equalizer)
EFFECT OFF, ON
LOW EQ -20–+20 (dB)
HIGH EQ -20–+20 (dB)
LEVEL -20–+20 (dB)
LO-MD F 100–10.0 k (Hz)
LOW-MID Q 0.5–16.0
LOW-MID EQ -20–+20 (dB)
HI-MD F 100–10.0 k (Hz)
HI-MID Q 0.5–16.0
HI-MID EQ -20–+20 (dB)
NS. SUPPRESSOR (Noise Suppressor)
EFFECT OFF, ON
THRESHOLD 0–100
RELEASE 0–100
PITCH SHIFTER
EFFECT OFF, ON
MODE FAST, MEDIUM, SLOW
PITCH -24–+24
FINE -50–+50
BALANCE DIR:FX 100:0–0:100
LEVEL 0–100
MOD (Modulation)
EFFECT OFF, ON
SELECT FL, PH
<FL: FLANGER>
RATE 0–100, BPM:
DEPTH 0–100
MANUAL 0–100
RESONANCE 0–100
SEPARATE 0–100
<PH: PHASER>
RATE 0–100, BPM:
DEPTH 0–100
MANUAL 0–100
RESONANCE -100–+100
SEPARATE 0–100
DELAY
EFFECT OFF, ON
DELAY TIME 0–800 (msec), BPM:
FINE TIME 0–20 (msec)
FEEDBACK 0–100
FX LEVEL 0–120
STEREO CHORUS
EFFECT OFF, ON
POLARITY SYNC, INVERT
RATE 0–100, BPM:
DEPTH 0–100
PRE DELAY 0.0–40.0 (msec)
HIGH CUT 700–11 k (Hz), FLAT
EFFECT LEVEL 0–100
RING
MODULATOR
4BAND EQ
PITCH
SHIFTER
NS.
SUPPRESSOR
CHORUS
TREMOLO/
PAN
REVERB
Output L
Output R
Input L
Input R
MOD
FV
CHORUS
DELAY

Table of Contents

Related product manuals