EasyManua.ls Logo

Boss VF-1 - Pb36 Delay+Chorus

Boss VF-1
144 pages
Print Icon
To Next Page IconTo Next Page
To Next Page IconTo Next Page
To Previous Page IconTo Previous Page
To Previous Page IconTo Previous Page
Loading...
90
Algorithm list
P
B
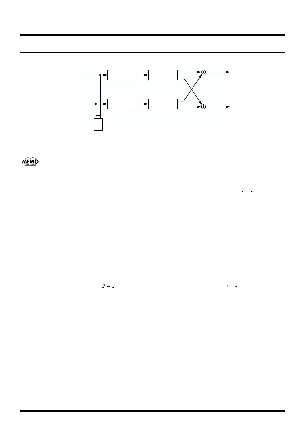
36 DELAY+CHORUS
fig.4-221
This allows you to simultaneously and independently use delay and chorus on the L and R channels.
A four-band equalizer is provided on the input.
In this Algorithm, what you have set with the DIRECT MIX (p.46) will have effect.
Lch & Rch: 4BAND EQ (Equalizer)
EFFECT OFF, ON
LOW EQ -20–+20 (dB)
HIGH EQ -20–+20 (dB)
LEVEL -20–+20 (dB)
LO-MD F 100–10.0 k (Hz)
LOW-MID Q 0.5–16.0
LOW-MID EQ -20–+20 (dB)
HI-MD F 100–10.0 k (Hz)
HI-MID Q 0.5–16.0
HI-MID EQ -20–+20 (dB)
Lch: DELAY
EFFECT OFF, ON
TYPE SINGLE, 3TAP
(SINGLE)
DELAY TIME 0–1800 (msec), BPM:
FINE TIME 0–20 (msec)
FEEDBACK 0–100
FX LEVEL 0–120
DIR LEVEL 0–100
HIGH DAMP GAIN -50–0 (dB)
HIGH CUT FILTER 700–11 k (Hz), FLAT
(3TAP)
DELAY TIME [C] 0–1800 (msec), BPM:
FINE TIME [C] 0–20 (msec)
TIME [L] 1–400 (%)
TIME [R] 1–400 (%)
FEEDBACK 0–100
LEVEL [C] 0–100
LEVEL [L] 0–100
LEVEL [R] 0–100
FX LEVEL 0–120
DIR LEVEL 0–100
HIGH DAMP GAIN -50–0 (dB)
HIGH CUT FILTER 700–11.0 k (Hz), FLAT
Rch: CHORUS
EFFECT OFF, ON
MODE MONO, ST.
RATE 0–100, BPM:
DEPTH 0–100
PRE DELAY 0.0–40.0 (msec)
LOW CUT FLAT, 55–800 (Hz)
HIGH CUT 700–11 k (Hz), FLAT
FX LEVEL 0–100
DIRECT SWITCH OFF, ON
MASTER
<MASTER>
LEVEL 0–100
BPM 40–250, MIDI, GLOBAL
<FV: FOOT VOLUME>
FOOT LEVEL 0–100
Input L
Input R
Output L
Output R
DELAY
4BAND EQ
CHORUS
4BAND EQ
FV

Table of Contents

Related product manuals