EasyManua.ls Logo

Burkert 8630 - Page 77

Burkert 8630
192 pages
Print Icon
To Next Page IconTo Next Page
To Next Page IconTo Next Page
To Previous Page IconTo Previous Page
To Previous Page IconTo Previous Page
Loading...
8630 - 75
OPERATION AND CONTROLLER FUNCTIONS
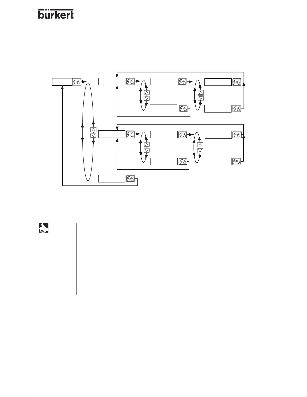
SIG-ERR
Configuration of error recognition signal level
Configure error
recognition of
setpoint signal
Activate signal error
recognition
Configure error
recognition of
process value
signal
Move to safety
position if
signal in error
Move to safety
position if
signal error
When signal error recognition is activated, the error is displayed (see chapter:
Maintenance and Error
Correction
).
NOTE
Error recognition
Error recognition can be selected only with 4 ... 20 mA, Pt100 and P1’P2 signals.
4 ... 20 mA
Error in input signal 3.5 mA (± 0.5 % of end value, hysteresis 0.5 % of end value)
Pt100
Error in input signal225 °C (± 0.5 % of end value, hysteresis 0.5 % of end value)
P1’P2
Error in input signal 3.5 mA (± 0.5 % of end value, hysteresis 0.5 % of end value)
If other types of signal are selected or if the process controller is unactivated, the
respective branch of menu will be faded out. If because of this configuration neither of the
error recognition modes is possible, the message NOT.AVAIL is displayed in the selection
menu.
Safety position
SPOS ON
If
SPOS ON
is set, the following configurations may occur:
Activated menu item
SAFEPOS
On error recognition the actuatur moves to the position set under
SAFEPOS.
Deactivated menu item
SAFEPOS
On error recognition the actuator moves to the end position which it would assume in the zero-voltage
state.
INP OFF
SPOS OFF
ERR INP
INP ON
SPOS ON
ERR END
ERR P.INP
P.INP ON
SPOS ON
SIG-ERR
P.INP OFF SPOS OFF
Activate move to safety
position

Table of Contents

Related product manuals