EasyManua.ls Logo

Burkert 8630 - Page 80

Burkert 8630
192 pages
Print Icon
To Next Page IconTo Next Page
To Next Page IconTo Next Page
To Previous Page IconTo Previous Page
To Previous Page IconTo Previous Page
Loading...
78 - 8630
OPERATION AND CONTROLLER FUNCTIONS
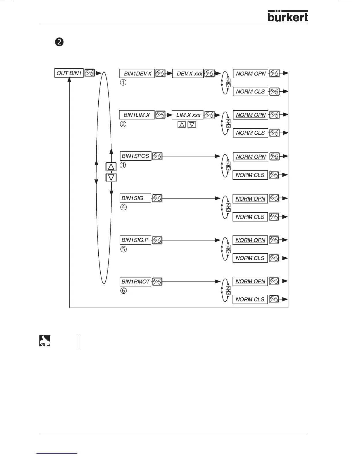
OUT BIN1
- Configuring binary output 1
Limit position
Permissible actuating signal *
NOTE
NORM CLS (NC)
"Normally Closed" output, in switched state
low
( 0 V)
NORM OPN (NO)
"Normally Open" output, in switched state
high
( 24 V)

Table of Contents

Related product manuals