EasyManua.ls Logo

CFG STE35SR - Directions of Machine

Default Icon
161 pages
Print Icon
To Next Page IconTo Next Page
To Next Page IconTo Next Page
To Previous Page IconTo Previous Page
To Previous Page IconTo Previous Page
Loading...
OPERATION & MAINTENANCE MANUAL STE35SR
VI
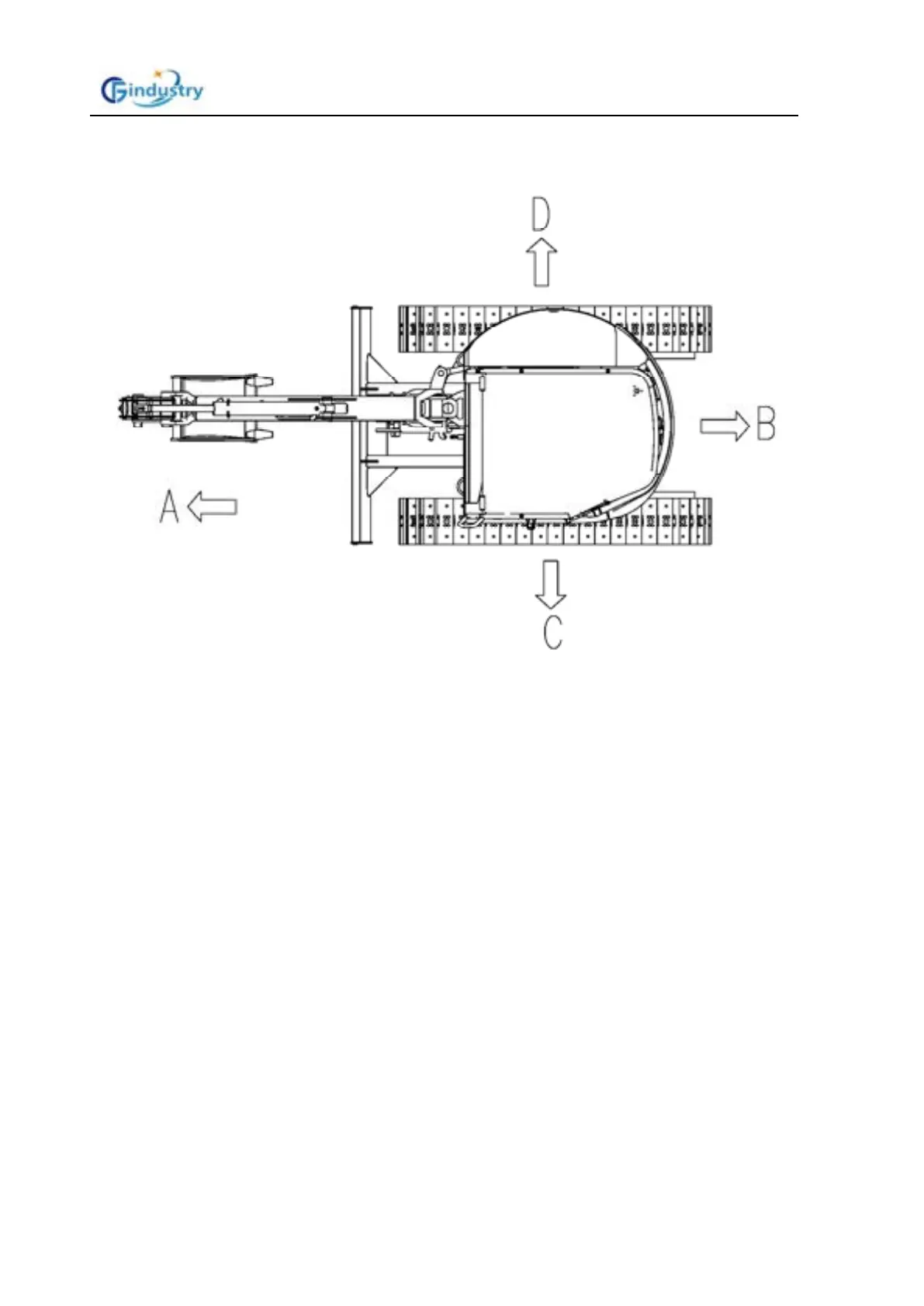
Directions of Machine
A Front B Rear C Left D Right
In this operator's manual, the state of the machine's traveling direction (front) as seen from the
driver's shed is the basic, which determines the front, rear, left, and right of the machine.

Table of Contents