EasyManua.ls Logo

DDK HFC3000II - Page 130

DDK HFC3000II
216 pages
Print Icon
To Next Page IconTo Next Page
To Next Page IconTo Next Page
To Previous Page IconTo Previous Page
To Previous Page IconTo Previous Page
Loading...
Chapter 6 Description of Operations
PAGE 6-62
D-No.006 Interrupt Operation During Fastening Standard setting: 000000
*****1: Pulse Fastening Operation
Set this to ON if fastening by pulsing is to be performed (pulsing is started after detection of 1ST).
****1*: Gyro Setup Enable
With a P type or T type or D type tool, the pause operation functions are enabled when this is set to
ON.
Notes on gyro function
Since the controller version is V1.305 or higher, the following setting values are
enabled as the safety stop function even if the gyro function is disabled.
· D-No.560 [CW Swing Stop Angle]
· D-No.570 [CCW Swing Stop Angle]
Please ON the start switch in the always state that the tool is still.
If fastening is started with the tool in operation, the angle measurement
becomes unstable and the safety stop function does not work normally.
***1**: Angle Head Torque Variation Monitor
With an angle head tool, the torque variation is monitored when this is set to ON.
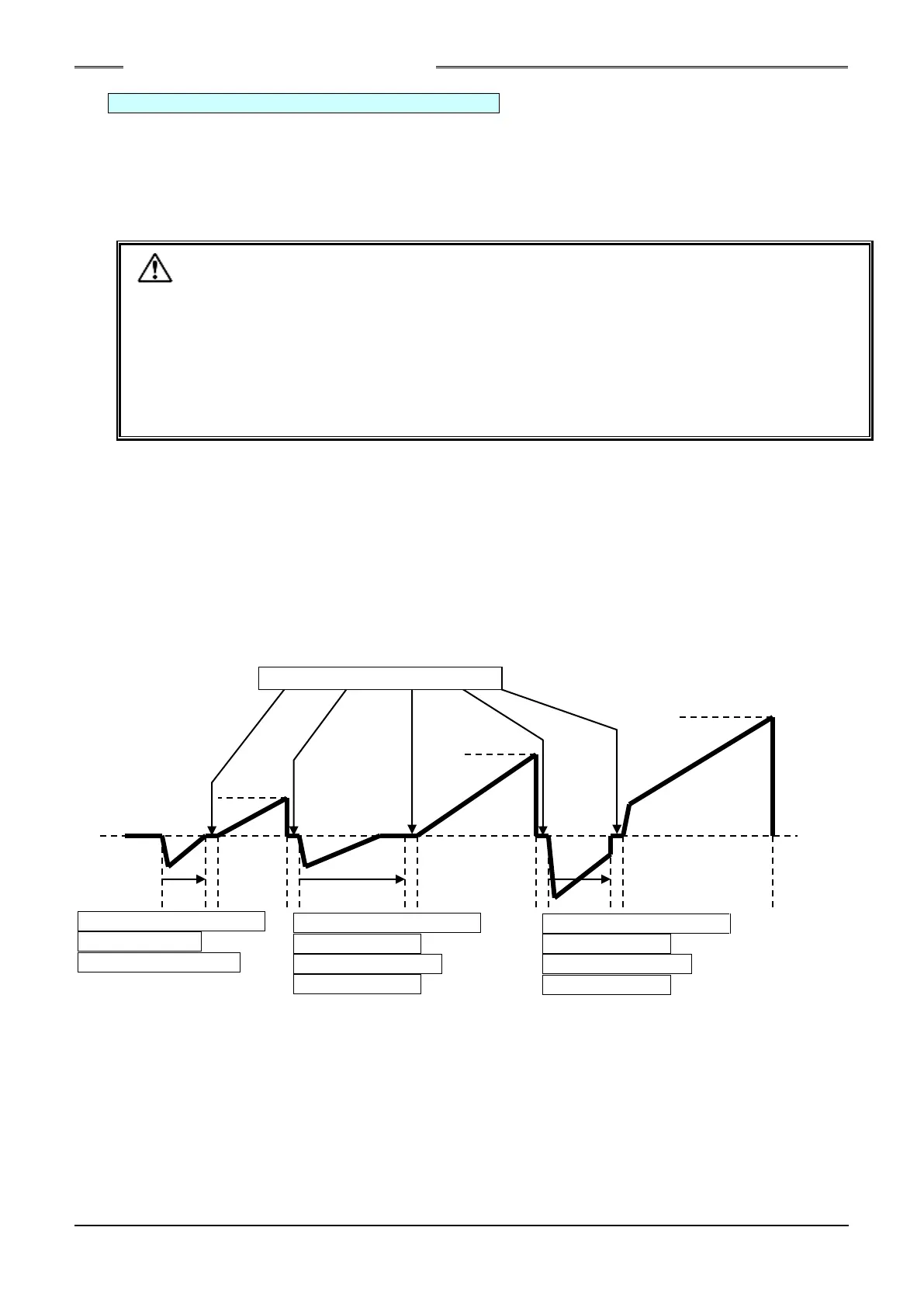
**1***: Reverse Between 1-2 Step
If this is set to ON and there is a 1ST stop, a reverse operation is performed before restarting ( in the
diagram below).
*1****: Reverse Between 2-3 Step
If this is set to ON and there is a 2ND stop, a reverse operation is performed before restarting ( in the
diagram below).
1ST
2ND
Starting lever: ON
End of fastening
STD
502: Reverse Revolutions
between 2-3 Step
407: Reverse Speed
between 2-3 Step
501: Reverse Revolutions
between 1-2 Step
406: Reverse Speed
between 1-2 Step
1STEP
2STEP
3STEP
547: CCW Wait Time Between Steps
505: Reverse Revolutions
before Fastening
405: Reverse 1 Speed
Caution
S0140185-H

Table of Contents