EasyManua.ls Logo

EditShare 24Q - Controls and Indicators; Front Panel

Default Icon
112 pages
Print Icon
To Next Page IconTo Next Page
To Next Page IconTo Next Page
To Previous Page IconTo Previous Page
To Previous Page IconTo Previous Page
Loading...
12 TP-00347-01
Chapter 1: Introduction
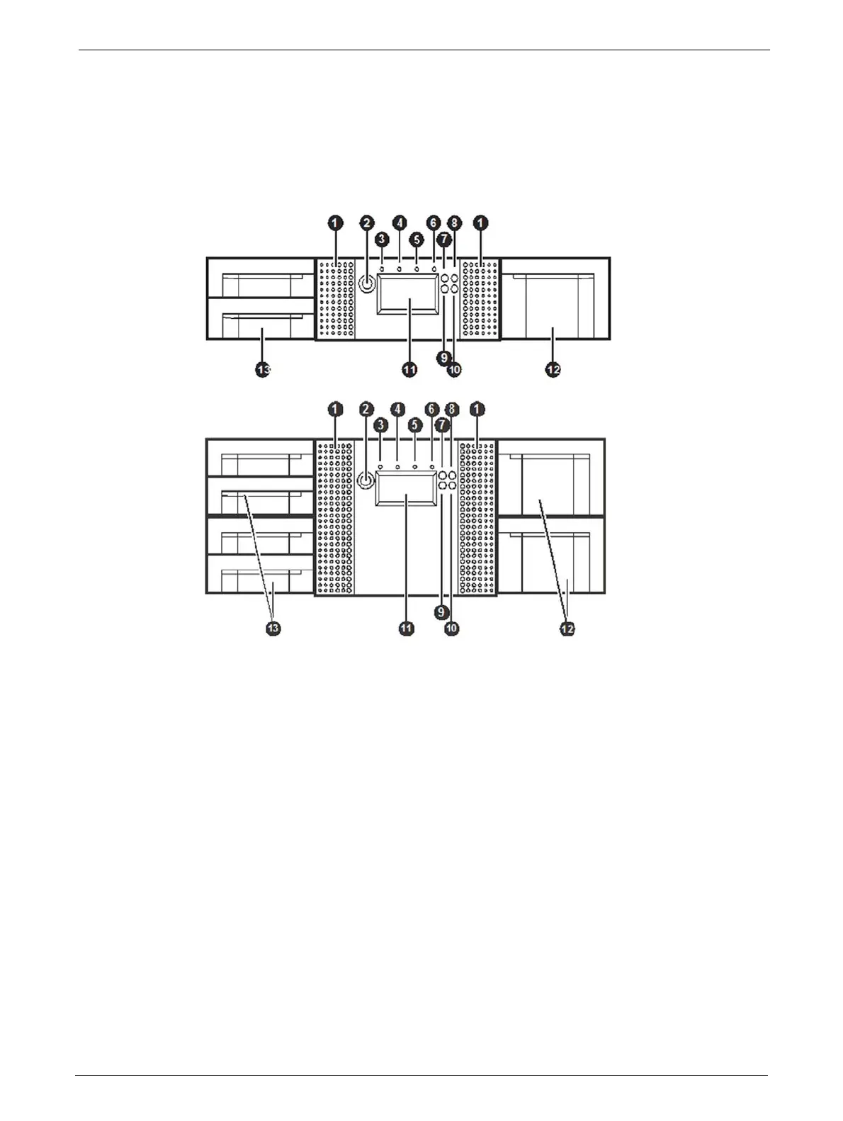
Controls and Indicators
Front Panel
1. Air vents
2. Power button: Pressing the button will initiate a controlled power down of the library (soft
pow
er down)
3. LED <READY> (green): is illuminated during power on
; blinking during tape or library media
changer activity.
4. LED <CLEAN> (amber): is illuminated when the tape drive has determined that a cleaning
tape sh
ould be used. Cleaning is only necessary when the library directs to do so. Additional
cleaning is not necessary.
5. LED <ATTENTION> (amber): is illuminated when th
e library has detected a condition that
requires attention by the operator.
6. LED <ERROR> (amber): is illuminated wh
en an unrecoverable tape drive or library error
occurs. A corresponding error message is shown on the LCD screen.
7. <UP> button []: is used to na
vigate backward through menu items.
8.
<CANCEL> button [
X]: is used to cancel a user action and return to the last menu item.
9. <DOWN> button []: is used t
o navigate forward through menu items.
10. <ENTER> button [ ]: is used to enter to a sub menu or execute an action.
11 Operator control panel (OCP) consisting of a 128
x
64 pixel screen. The OCP displays actions
and status information, menu items or error messages relevant to the operational mode.
12 Right magazine(s)
13 Left magazine with mailslot(s)

Table of Contents