EasyManua.ls Logo

Finsecur Baltic 512 TYPE A - Finsécur Automatic Detectors (with Action Indicator)

Finsecur Baltic 512 TYPE A
82 pages
Print Icon
To Next Page IconTo Next Page
To Next Page IconTo Next Page
To Previous Page IconTo Previous Page
To Previous Page IconTo Previous Page
Loading...
01-ECMSI-NT002.Rev B40
DHW CARD WIRING
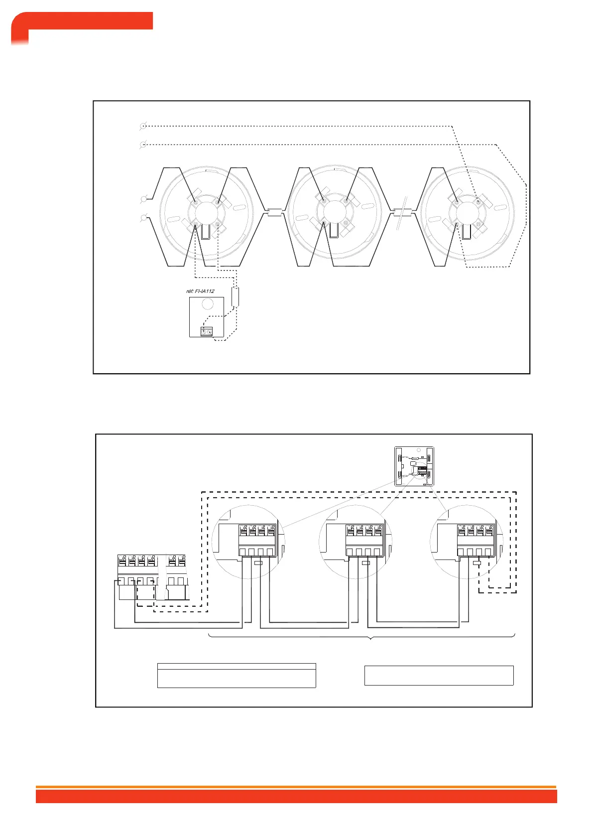
Finsécur automatic detectors (with action indicator)
+ BUS
- BUS
+ BUS
- BUS
Bus characteristics
Action Indicator
"individual mode" assembly
--
--
--
--
Number
Dots/loop
Distance
Cable
: 8 (open bus) or 4 (looped back bus)
32 max. (open bus) or 128 max. (bus “looped back”)
1600m max.
1 pair/ 8/10th (without screen) type C2
:
_
+
:
:
Note :Action indicator in "collective mode", configuration via BALTIC PC of the indicator's address.
Finsécur manual call points - ref Nemo 112 A
1 2 3 4 6
5
"return" connection
Same. for loops n°2 to
n°8
1 2 3 4 6 1 2 3 4 6 1 2 3 4 6
5 5 5
- + -
BR2
+ - +
BR9
BUS 1 BUS 2
BUS 3
BR3
link "to go"
128 manual call points max. (and/or automatic detectors) on "looped" bus 32 manual
call points max. (and/or automatic detectors) on "open" bus
Cable to be used for connecting the DMs
Diameter
Kind
1 pair 8/10th rigid without screen
C2 (flame retardant)
Note:in "re-looped" wiring, use CR1 type cable if the
"outward" and "return" sections run in the same area
CONTROL AND SIGNALING EQUIPMENT 512 POINTS BALTIC 512 TYPE A WALL OR RACK BOX
17
+ + EE
+ + EE
+ + EE
FEEDBACK
DEPARTURE
FEEDBACK
DEPARTURE
__
__
__
IIAA
IIAA
IIAA
+ + S
S
+ + S
S
+ + S
S

Table of Contents