EasyManua.ls Logo

GreenWorks CU800 - Page 120

GreenWorks CU800
231 pages
Print Icon
To Next Page IconTo Next Page
To Next Page IconTo Next Page
To Previous Page IconTo Previous Page
To Previous Page IconTo Previous Page
Loading...
MALFUNCTION INSPECTION CU800 Service Manual
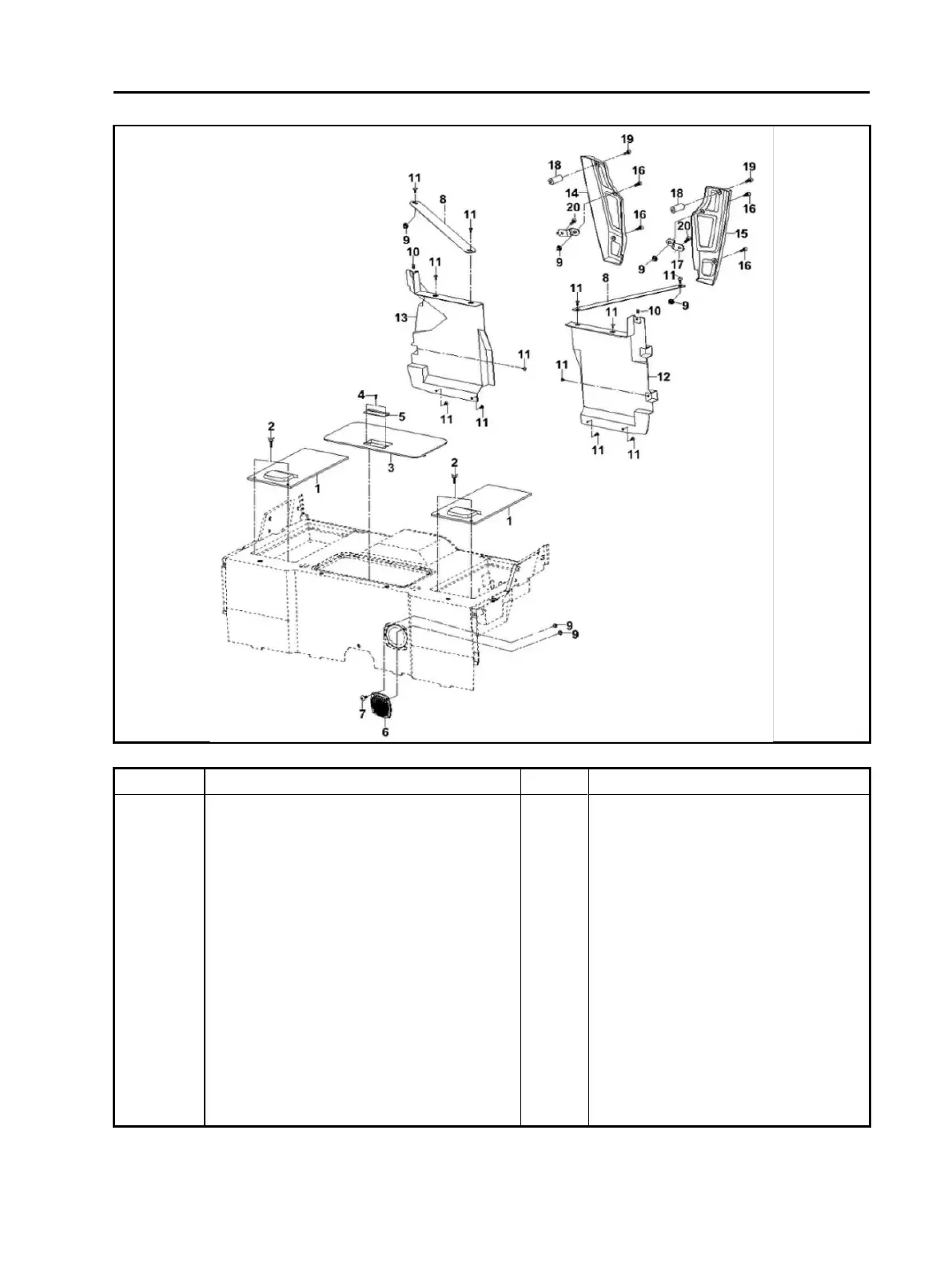
113
No.
Part Name
Qty
Remarks
Intermediate cover
1
Battery Cover
2
2
Butterfly Type Bolt M6×20
4
3
Debugging Box Board
1
4
Cross Recessed Pan Head Tapping
Screw St3.9×13
2
5
Holder, Debugging Box
1
6
Primary Filter Net
1
7
Cross Large Plate Head Screw M6×20
4
8
Support, Side Board
2
9
Hexagon Flange Nut M6
2
10
Nut Holder M6×2
33
11
Cross Large Plate Head Screw M6×16
12
12
Rear Board Ii, Seat
1

Table of Contents

Related product manuals