EasyManua.ls Logo

GreenWorks CU800 - Page 121

GreenWorks CU800
231 pages
Print Icon
To Next Page IconTo Next Page
To Next Page IconTo Next Page
To Previous Page IconTo Previous Page
To Previous Page IconTo Previous Page
Loading...
MALFUNCTION INSPECTION CU800 Service Manual
114
No.
Part Name
Qty
Remarks
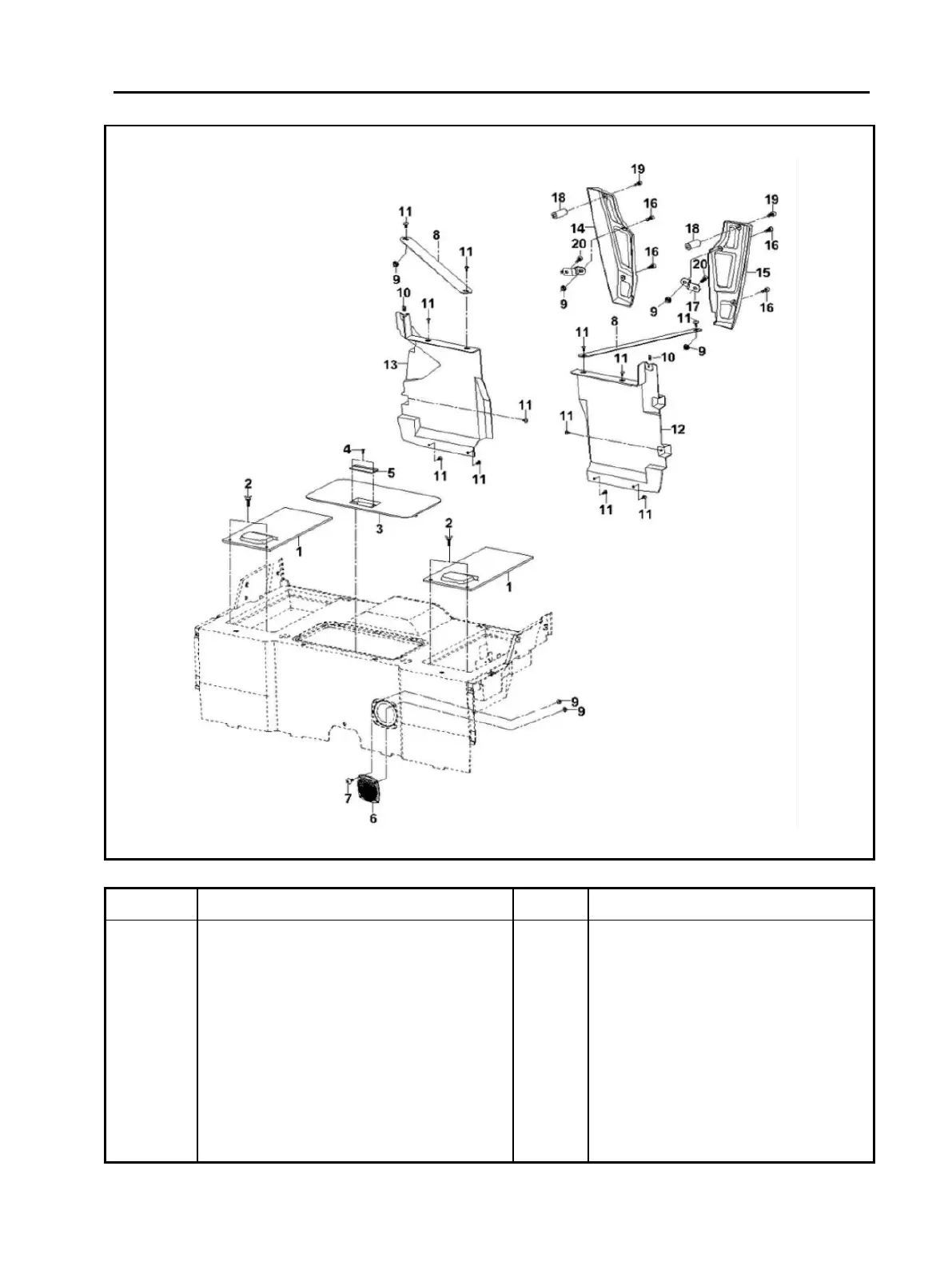
13
Rear Left Board I, Seat
1
14
Rear Protecting Board I
1
15
Rear Protecting Board II
1
16
Socket Hexagon Screw M6×16
6
17
Mounting Support, Rear Protecting
Board
2
18
Bushing Φ7×Φ15×15
2
19
Socket Hexagon Screw M6×30
2
20
Hexagon Flange Bolt M6×16
2

Table of Contents

Related product manuals