EasyManua.ls Logo

GreenWorks CU800 - Page 219

GreenWorks CU800
231 pages
Print Icon
To Next Page IconTo Next Page
To Next Page IconTo Next Page
To Previous Page IconTo Previous Page
To Previous Page IconTo Previous Page
Loading...
ELECTRICAL SYSTEM MALFUNCTION INSPECTION CU800 Service Manual
212
7.4.2 Checking the Signal System
1. If the brake lights fail to come on:
(1) Bulb and bulb socket
Check the bulb and bulb socket for
continuity.
CONTINUITY
(2) Bake light switch
Refer to “CHECKING THE SWITCH”.
CONTINUITY
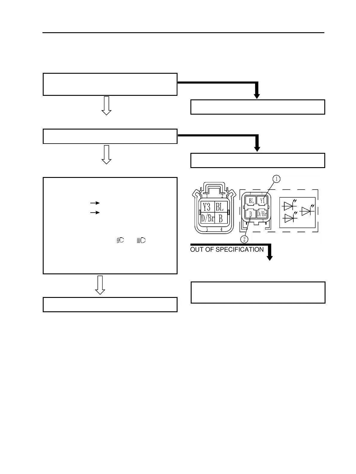
(3) Voltage
• Connect the pocket tester (DC 20 V) to the
bulb socket connector.
Tester (+) lead Dark/Brown terminal
Tester () lead Black terminal
• Turn the main switch to “ON”.
• Turn the light switch to “ ” or “ ”.
• Check the voltage (12 V) of the “Yellow”
lead on the bulb socket connector.
MEETS SPECIFICATION
This circuit is not faulty.
NO CONTINUITY
Replace the bulb and/or bulb socket.
NO CONTINUITY
Replace the brake light switch.
OUT OF SPECIFICATION
The wiring circuit from the main switch to the
bulb socket connector is faulty, repair it.

Table of Contents

Related product manuals