EasyManua.ls Logo

GreenWorks CU800 - Page 220

GreenWorks CU800
231 pages
Print Icon
To Next Page IconTo Next Page
To Next Page IconTo Next Page
To Previous Page IconTo Previous Page
To Previous Page IconTo Previous Page
Loading...
ELECTRICAL SYSTEM MALFUNCTION INSPECTION CU800 Service Manual
213
2. If F, N, R light is not bright
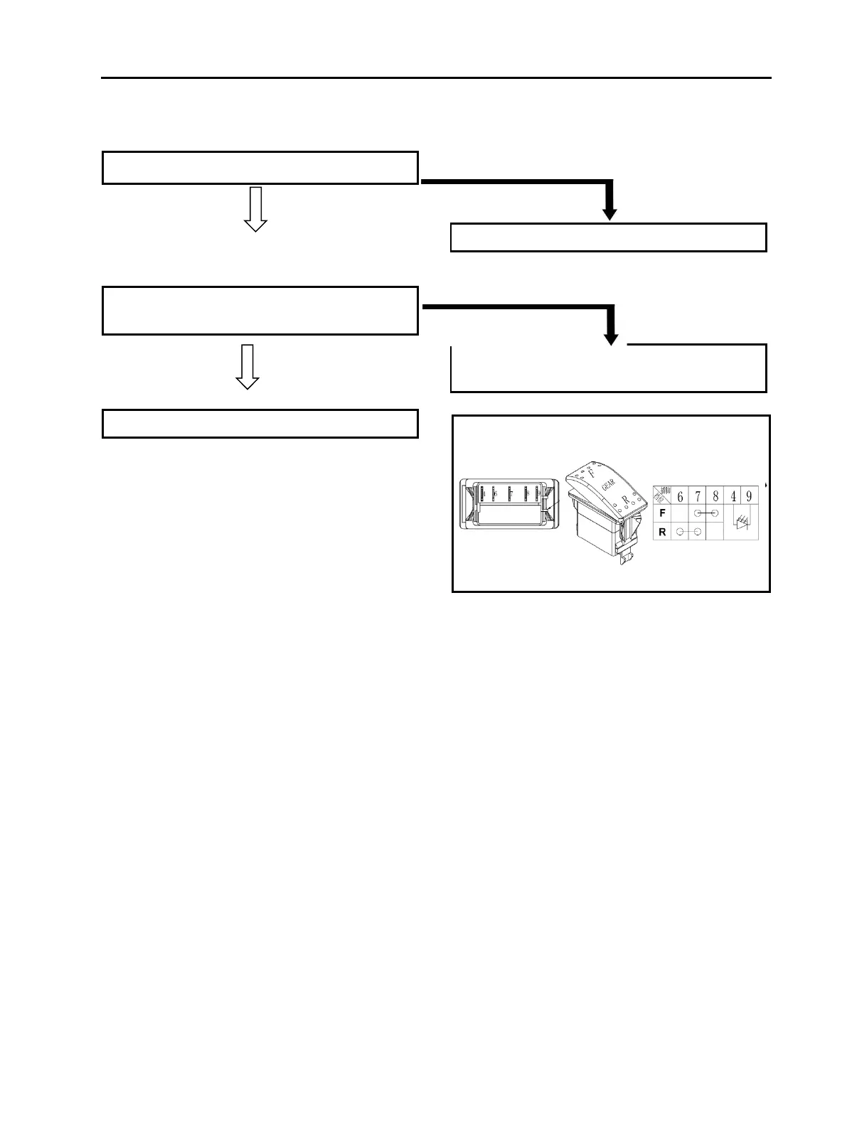
(1). Test the gear shift switch
Refer to “CHECKING THE SWITCH”.
CONTINUITY
(2). Wire connection
Check the main beam connected to the gear
switch connector is strong
CONNECTION IS FIRM
This circuit is not faulty.
NO CONTINUITY
Replace the gear switch
NO CONTINUITY
Repair the main beam connection with gear
switch connector

Table of Contents

Related product manuals