EasyManua.ls Logo

Huawei NetCol5000-A050 - Page 50

Huawei NetCol5000-A050
360 pages
Print Icon
To Next Page IconTo Next Page
To Next Page IconTo Next Page
To Previous Page IconTo Previous Page
To Previous Page IconTo Previous Page
Loading...
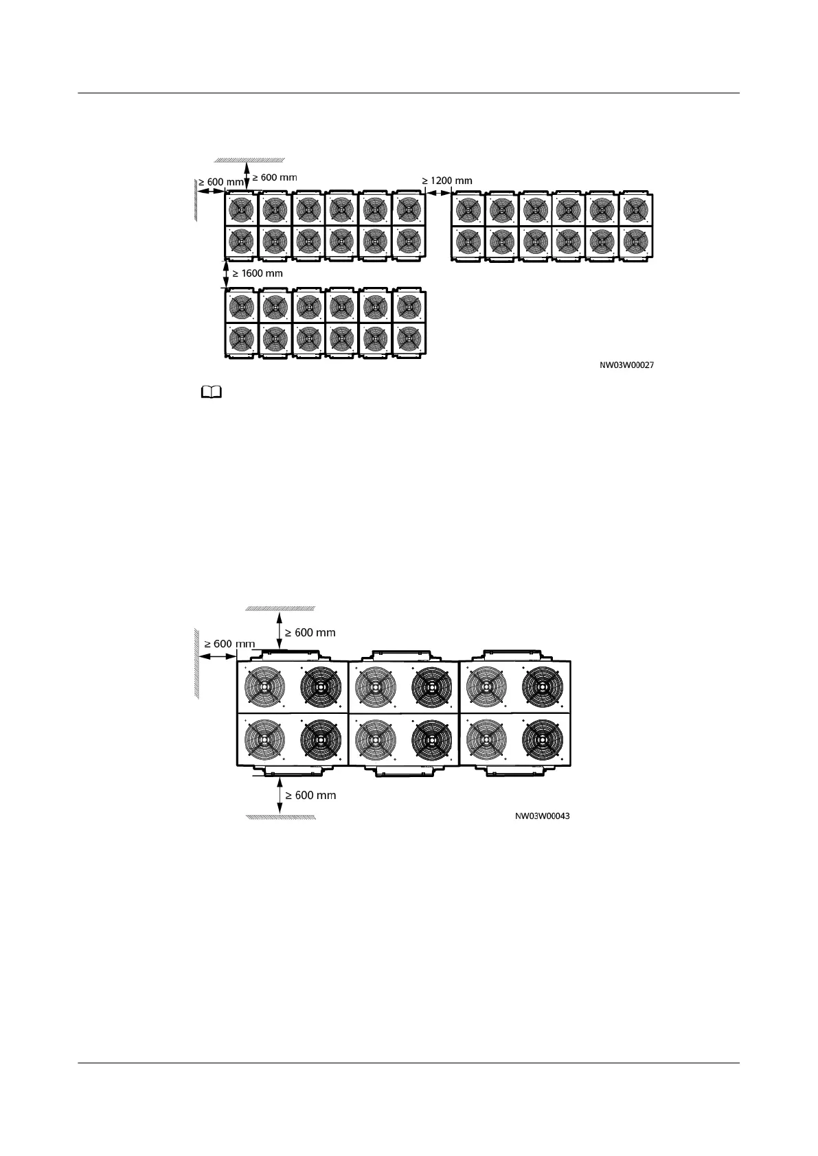
Figure 4-9 Top view of compact installation if the quantity is > 12 (NetCol500-
A060)
NO TE
If necessary, you can use a base to increase the height for compact installation, the
dimensions of the raised base can be obtained based on the BOM code. Take the
NetCol500-A060 as an example.
When the quantity is 12 or less, if the wall height is 0 mm, the base height is 0 mm. If
the wall height is 1000 mm or lower, the base height is 500 mm or higher.
When the quantity is more than 12, if the wall height is 0 mm, the base height is 500
mm or higher. If the wall height is 1000 mm or lower, the base height is 1000 mm or
higher.
Figure 4-10 Top view of compact installation if the quantity is ≤ 6 (NetCol500-
A120)
NetCol5000-A050 In-row Air Cooled Smart Cooling
Product
User Manual 4 Installation
Issue 08 (2021-09-17) Copyright © Huawei Technologies Co., Ltd. 40

Table of Contents

Other manuals for Huawei NetCol5000-A050

Related product manuals